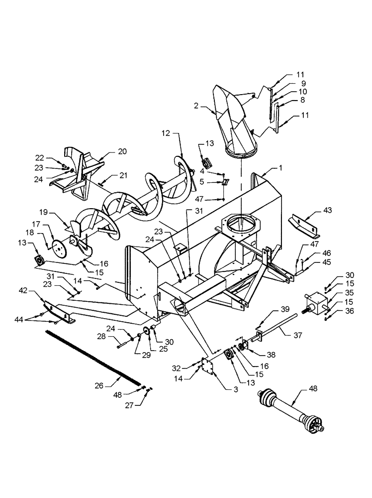
Запчасти Case IH BSX184R (102) - 84" SNOWBLOWER

Схема запчастей Case IH BSX184R - (102) - 84" SNOWBLOWER
9
4
48
13
22
48
14
19
24
5
44
45
15
46
42
11
3
21
30
12
16
39
10
29
20
23
17
8
15
32
2
43
31
28
30
25
16
23
36
24
26
14
18
38
31
13
13
37
1
11
27
47
24
47
15
35
23
15
FIT
1:1
100%

Артикул

Название

Примечание

Количество

1

NSS

NOT SOLD SEPARAT

Housing, 84"

1шт.

2

BER666872

CHUTE

1шт.

3

BER662687

SUPPORT

Drive

1шт.

4

PL

PROCURE LOCALLY

Bolt, Hex, 1/2" x 1 -1/4" GR5

4шт.

5

BER654197

PLATE

Retaining

3шт.

6

PL

PROCURE LOCALLY

Washer, Lock, 1/2"

20шт.

7

PL

PROCURE LOCALLY

Nut, Hex, 1/2"

12шт.

8

BER654076

TUBE

1шт.

9

BER654074

ADJUSTMENT ROD

1шт.

10

BER1800003

PIN

Hair, 5mm x 100mm

1шт.

10

BER1900006

PIN, SPLIT (COTTER)

PIN, COTTER Round Wire Lock Pin 1/4"

1шт.

Used On & ASN RAD010032

1шт.

11

PL

PROCURE LOCALLY

Pin, Cotter 3/32" x 1"

1шт.

12

CSE666278

AUGER

84"

1шт.

13

BER4300001

BEARING

1 -1/4" dia. hole

3шт.

14

PL

PROCURE LOCALLY

Bolt, Hex, 1/2" x 1 -1/2" GR5

12шт.

15

PL

PROCURE LOCALLY

Pin, Spring, 1/4" x 1 3/4"

2шт.

16

BER1200006

WASHER, LOCK

1/2"

1шт.

17

BER654007

SPROCKET

#60A38

1шт.

18

PL

PROCURE LOCALLY

Bolt, Hex, 3/8" x 1 -1/2" GR5

4шт.

19

PL

PROCURE LOCALLY

Nut, Lock, Nylon Insert, 3/8"

4шт.

20

CSE664378

FAN

1шт.

20

BER668967

FAN

1шт.

Used On & ASN RAD010032

1шт.

21

BER654174

KEY

3/8" x 3/8" x 2 -3/4"

1шт.

21

BER4500075

KEY

3/8" x 3/8" x 4" Long

1шт.

Used On & ASN RAD010032

1шт.

22

PL

PROCURE LOCALLY

Bolt, Hex, 5/8" x 1 -1/2" GR5

1шт.

22

PL

PROCURE LOCALLY

Bolt, Hex, 5/8" x 2" GR5

1шт.

Used On & ASN RAD010032

1шт.

23

PL

PROCURE LOCALLY

Washer, Lock, 5/8"

6шт.

24

PL

PROCURE LOCALLY

Washer, Flat, 11/16"

3шт.

25

511265

SPROCKET

1шт.

25

BER3300022

SPROCKET

Idler

1шт.

Used On & ASN RAD010032

1шт.

26

BER656912

SPACER

#60, 94 Links, Includes: Ref. 27

1шт.

27

BER654839

LINK CHAIN

#60

1шт.

28

PL

PROCURE LOCALLY

Bolt, Hex, 5/8" x 5" GR5

1шт.

29

BER656912

SPACER

Idler

1шт.

29

BER667775

SPACER

Idler

1шт.

Used On & ASN RAD010032

1шт.

30

BER656911

SPACER

Idler

1шт.

30

BER667774

SPACER

Idler

1шт.

Used On & ASN RAD010032

1шт.

31

PL

PROCURE LOCALLY

Nut, Hex, 5/8"

5шт.

32

PL

PROCURE LOCALLY

Bolt, Hex, 3/8" x 1" GR5

4шт.

33

PL

PROCURE LOCALLY

Washer, Lock, 3/8"

4шт.

34

PL

PROCURE LOCALLY

Nut, Hex, 3/8"

4шт.

35

BER662195

GEARBOX

1шт.

36

PL

PROCURE LOCALLY

Bolt, Hex, 1/2" x 1" GR5

8шт.

37

BER655786

DRIVE SHAFT

1шт.

38

BER654024

SPROCKET

1шт.

39

PL

PROCURE LOCALLY

Bolt, Hex, 5/16" x 2" GR5

1шт.

40

PL

PROCURE LOCALLY

Washer, Lock, 5/16"

1шт.

41

PL

PROCURE LOCALLY

Nut, Hex, 5/16"

1шт.

42

BER666287

SKID/SHOE

LH

1шт.

43

BER666288

SKID/SHOE

RH

1шт.

44

BER0300043

BOLT

Carriage, 5/8" x 1 -1/2" GR5

4шт.

45

BER655813

PIN

Cat. 2

2шт.

45

BER666856

PIN

Cat. 1

2шт.

46

BER1900003

PIN

Linch, 7/16"

2шт.

47

PL

PROCURE LOCALLY

Nut, Serrated Flange, 1/2"

4шт.

0900046

1шт.

48

BER662538

DRIVE

PTO Shaft

1шт.

Выбрано товаров: 64