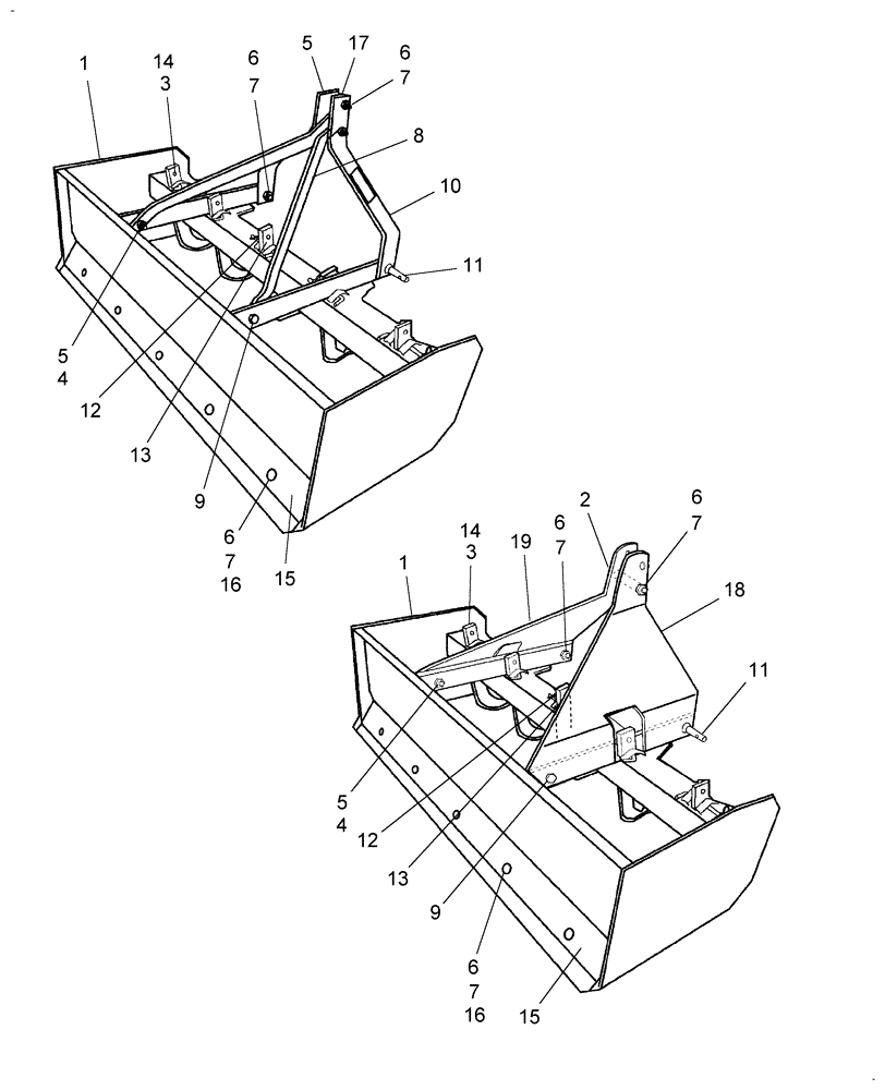
Запчасти Case IH WORK EZ 48BL (001) - MANUAL LIGHT DUTY BOX BLADE 4 & 5 - 48BL/60BL

Схема запчастей Case IH WORK EZ 48BL - (001) - MANUAL LIGHT DUTY BOX BLADE 4 & 5 - 48BL/60BL
9
1
5
15
6
16
14
12
9
13
3
15
1
6
7
11
3
5
17
7
2
8
4
10
7
19
6
13
11
7
6
16
4
7
5
6
6
12
18
7
FIT
1:1
100%

Артикул

Название

Примечание

Количество

1

MAG3PTBB4D1

FRAME

WORK EZ 48BL

1шт.

1

MAG3PTBB5D1

FRAME

WORK EZ 60BL

1шт.

2

PL

PROCURE LOCALLY

Bolt, 16mmx110mm GR5

2шт.

3

MAG3PTBB5D3

POINT

Point, WORK EZ 48BL

4шт.

2

PL

PROCURE LOCALLY

Bolt, 16mmx110mm GR5

1шт.

USED ON & ASN W9WBH9478 WORK EZ 48BL & WAWBJ1976 WORK EX 60BL

1шт.

3

MAG3PTBB5D3

POINT

Point, WORK EZ 60BL

5шт.

4

PL

PROCURE LOCALLY

Nut, 22mm

2шт.

5

PL

PROCURE LOCALLY

Lock Washer, 22mm

2шт.

6

PL

PROCURE LOCALLY

Nut, 16mm, WORK EZ 48BL

7шт.

6

PL

PROCURE LOCALLY

Nut, 16mm, WORK EZ 60BL

8шт.

7

PL

PROCURE LOCALLY

Lock Washer, 16mm, WORK EZ 48BL

7шт.

7

PL

PROCURE LOCALLY

Lock Washer, 16mm, WORK EZ 60BL

8шт.

8

MAG3PTBB5D8

BRACKET

Brace, When replacing bracket you must upgrade to Ref. 18 & 19

2шт.

USED BSN W9WBH9478 WORK EZ 48BL & WAWBJ1976 WORK EX 60BL

1шт.

9

PL

PROCURE LOCALLY

Bolt, 16mmx60mm

2шт.

10

MAG3PTBB5D10

FRAME

When replacing frame you must upgrade to Ref. 18 & 19

2шт.

USED BSN W9WBH9478 WORK EZ 48BL & WAWBJ1976 WORK EX 60BL

1шт.

11

MAG3PTBB5D11

PIN

Lift

2шт.

12

MAG3PTBB5D12

HAIR PIN COTTER

Hair, WORK EZ 48BL

4шт.

12

MAG3PTBB5D12

HAIR PIN COTTER

Hair, WORK EZ 60BL

5шт.

13

MAG3PTBB5D13

LOCKING PLATE

WORK EZ 48BL, Includes MAG3PTBB5D12

4шт.

13

MAG3PTBB5D13

LOCKING PLATE

WORK EZ 60BL, Includes MAG3PTBB5D12

4шт.

14

MAG3PTBB5D14

SHANK

WORK EZ 48BL

4шт.

14

MAG3PTBB5D14

SHANK

WPRL EZ 60BL

4шт.

15

MAG3PTBB4D15

CUTTING EDGE

4', WORK EZ 48BL

2шт.

15

MAG3PTBB5D15

CUTTING EDGE

5', WORK EZ 60BL

2шт.

16

PL

PROCURE LOCALLY

Bolt, 16mmx30mm, WORK EZ 48BL

4шт.

16

PL

PROCURE LOCALLY

Bolt, 16mmx30mm, WORK EZ 60BL

5шт.

17

MAG3PTBB5D17

SPACER

2шт.

18

MAG102D5914DR

FRAME

RH

1шт.

USED ON & ASN W9WBH9478 WORK EZ 48BL & WAWBJ1976 WORK EX 60BL

1шт.

19

MAG102D5914DL

FRAME

LH

1шт.

USED ON & ASN W9WBH9478 WORK EZ 48BL & WAWBJ1976 WORK EX 60BL

1шт.

Выбрано товаров: 34