Запчасти Case IH WORK EZ 78DC (006) - EZ MATCH™ QUICK HITCH - 710740006 (Feb 26 2011 12:08:00.5507 PM) (37) - HITCHES, DRAWBARS & IMPLEMENT COUPLINGS

Схема запчастей Case IH WORK EZ 78DC - (006) - EZ MATCH™ QUICK HITCH - 710740006 (Feb 26 2011 12:08:00.5507 PM) (37) - HITCHES, DRAWBARS & IMPLEMENT COUPLINGS
2
12
13
5
9
4
6
7
12
3
8
13
10
8
11
1
FIT
1:1
100%

Артикул

Название

Примечание

Количество

1

W0

ORDER WHOLEGOODS

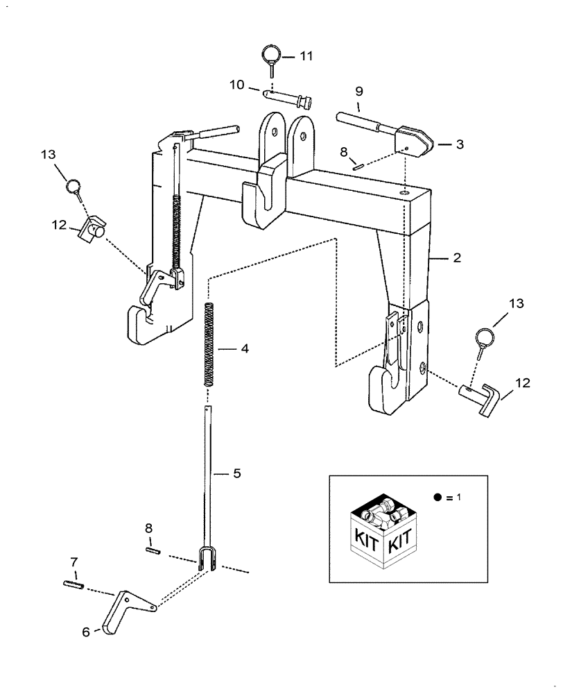
EZ MATCH™ QUICK HITCH Includes: Ref. 2-13

1шт.

710740006

1шт.

2

NSS

NOT SOLD SEPARAT

QUICK HITCH MAIN BODY

1шт.

3

MAG107D0030

LEVER

2шт.

4

MAG430D0005

LEVER

Compression Spring

2шт.

5

MAG107D0033

CONNECTING ROD

5/8" x 12-3/4"

2шт.

6

MAG610D0033

LOCKING PLATE

Locking 3/4"

2шт.

7

MAG107D0034

ROLL PIN

1/2" x 1-3/4"

2шт.

8

MAG641D408

PIN

1/4" x 1-3/8"

4шт.

9

MAG416D0486

GRIP

Vinyl 5/8"

2шт.

10

MAG150D4

PIN

Cat 1 3/4" x 2-3/4"

1шт.

11

MAG412D1618

LINCH PIN

7/16"

1шт.

12

MAG162D204

HITCH PIN

Hitch

2шт.

13

MAG154D1600

LINCH PIN

1/4" DIA

2шт.

Выбрано товаров: 14