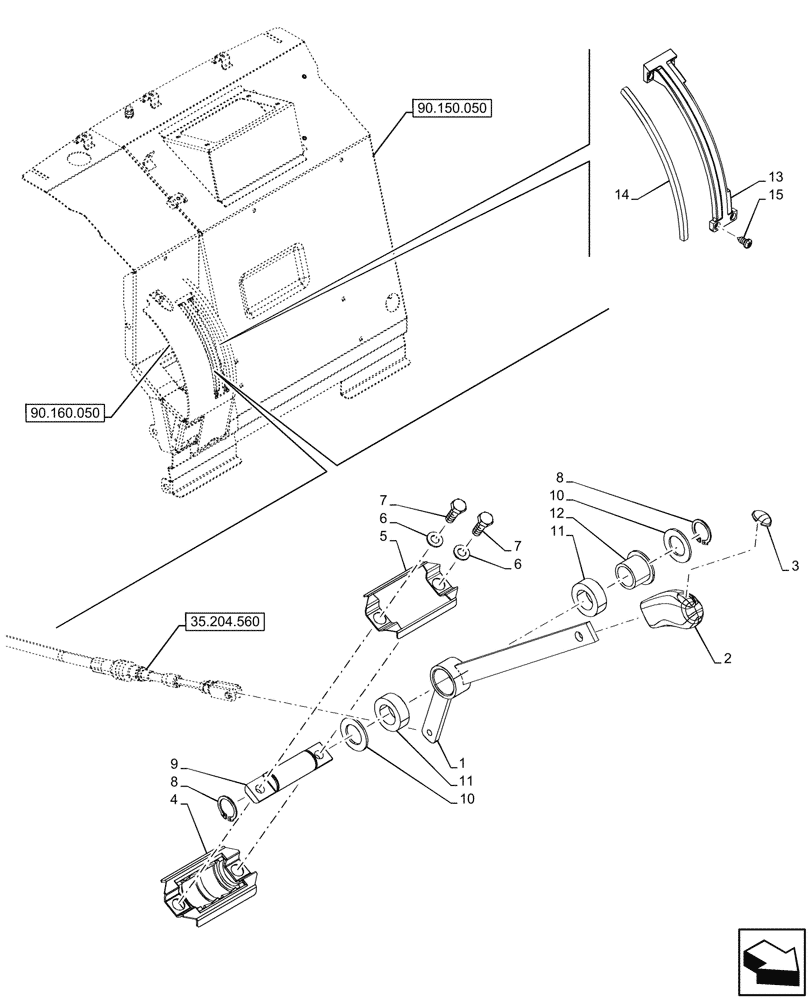
Запчасти Case IH FARMALL 110CL (35.204.370) - VAR - 759023 - 3 REMOTE CONTROL VALVES, LEVER, CAB (35) - HYDRAULIC SYSTEMS

Схема запчастей Case IH FARMALL 110CL - (35.204.370) - VAR - 759023 - 3 REMOTE CONTROL VALVES, LEVER, CAB (35) - HYDRAULIC SYSTEMS
35.204.560
12
7
8
11
8
10
1
11
15
2
6
14
7
10
13
3
9
90.160.050
6
5
4
90.150.050
FIT
1:1
100%

Артикул

Название

Примечание

Количество

1

5180257

LEVER

3rd Command

1шт.

2

47381094

KNOB,Black

1шт.

3

87698516

DATA PLAQUE

For Ginger Remote

1шт.

4

84282185

GASKET,100mm L

1шт.

5

5170661

COVER

1шт.

6

11193874

BELLEVILLE WASHER,M8 Bolt Size x 16mm OD x 1.4mm Thk

2шт.

7

86625001

BOLT,Hex, M8 x 22mm, Cl 8.8, Full Thd

2шт.

8

11066976

SNAP RING,M21, Ext

2шт.

9

5133375

PIN,20mm OD x 100mm L

1шт.

10

5126031

WASHER,21mm ID x 35mm OD x 2mm Thk

2шт.

11

5154841

SPACER,21mm ID x 35mm OD x 12mm L

2шт.

12

5154842

BUSHING,21mm ID x 27mm OD x 22mm L

1шт.

13

5175803

SECTOR

1шт.

14

5176600

BRACKET

1шт.

15

15958701

SCREW,Pan Hd, M5 x 3 x 12mm

4шт.

Выбрано товаров: 0