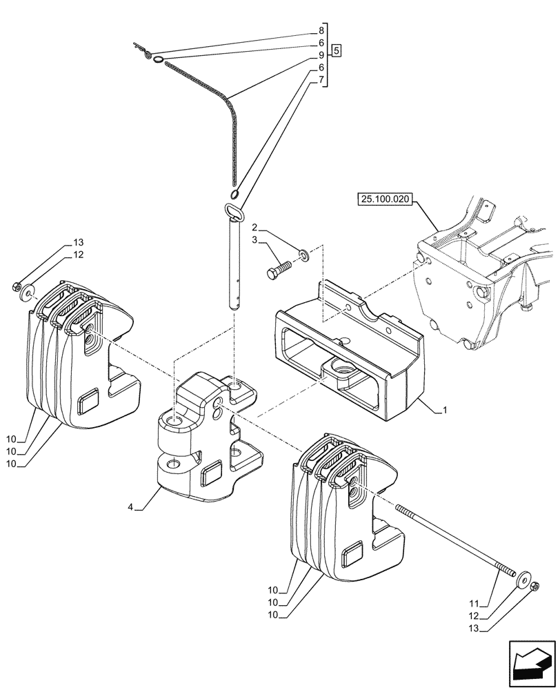
Запчасти Case IH FARMALL 110CL (39.140.020) - VAR - 759456 - FRONT, BALLAST (318 KG) (39) - FRAMES AND BALLASTING

Схема запчастей Case IH FARMALL 110CL - (39.140.020) - VAR - 759456 - FRONT, BALLAST (318 KG) (39) - FRAMES AND BALLASTING
25.100.020
10
12
10
1
3
13
5
12
10
10
4
2
8
10
10
9
6
7
11
6
13
FIT
1:1
100%

Артикул

Название

Примечание

Количество

1

84479218

SUPPORT,60 Kg

Dark Gray

1шт.

2

11191774

BELLEVILLE WASHER,M20 Bolt Size x 38mm OD x 4.6mm Thk

4шт.

3

11125134

BOLT,Hex, M20 x 70mm, Cl 10.9

4шт.

4

87325015

WEIGHT,75Kg/165Lb

1шт.

5

47132417

PIN,3.6mm OD x 64mm L

ASSY, Incl 6 - 9

2шт.

6

44901192

SNAP RING,25mm ID

4шт.

7

NSS

NOT SOLD SEPARAT

Pin, Incl in 5

2шт.

8

44901190

COTTER PIN,6.3mm x 77.6mm L

2шт.

9

NSS

NOT SOLD SEPARAT

Chain, Incl in 5

2шт.

10

47056220

WEIGHT,40Kg/88Lb

6шт.

11

84479192

THREADED ROD,M16 x 2 x 507mm L

1шт.

12

44018768

WASHER,17mm ID x 55mm OD x 8mm Thk

2шт.

13

12163324

M16, Cl 10

NUT,Hex, M16, Cl 10

2шт.

Выбрано товаров: 13