Запчасти Case IH FARMALL 110CL (90.150.150) - VAR - 743970, 759021 - FRAME, SUPPORT, W/ MID-MOUNT CONTROL VALVE, CAB (90) - PLATFORM, CAB, BODYWORK AND DECALS

Схема запчастей Case IH FARMALL 110CL - (90.150.150) - VAR - 743970, 759021 - FRAME, SUPPORT, W/ MID-MOUNT CONTROL VALVE, CAB (90) - PLATFORM, CAB, BODYWORK AND DECALS
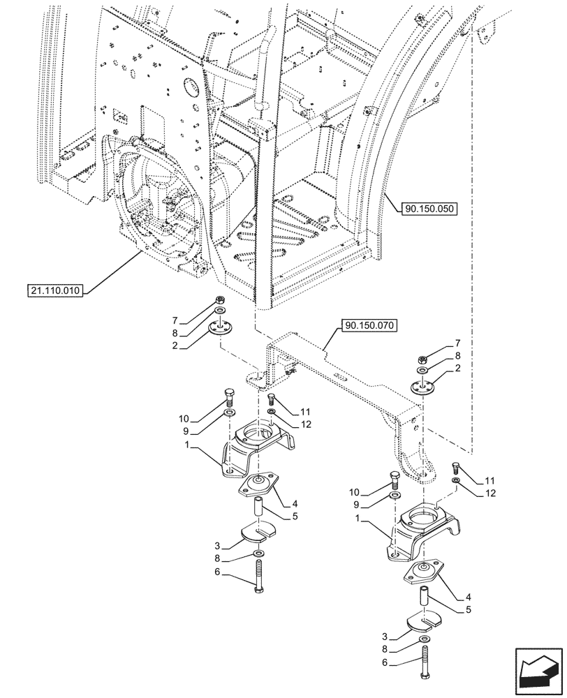
90.150.070
3
1
8
11
2
4
4
9
6
7
6
8
5
10
8
5
3
1
12
8
7
2
12
10
11
9
21.110.010
90.150.050
FIT
1:1
100%

Артикул

Название

Примечание

Количество

1

47618821

BRACKET

Rear

2шт.

2

47590296

PLATE

2шт.

3

47947949

RING,110mm OD x 10mm Thk

2шт.

4

87688301

ISOLATOR,90mm OD x 64mm L

2шт.

5

5137163

SPACER,17mm ID x 24mm OD x 60mm L

2шт.

6

11369634

BOLT,Hex, M16 x 1.5 x 110, 10.9

2шт.

7

12164124

NUT,M16 x 1.5, Cl 8

2шт.

8

11191574

BELLEVILLE WASHER,M16 Bolt Size x 34mm OD x 3.6mm Thk

4шт.

9

11191679

BELLEVILLE WASHER,M18 Bolt Size x 36mm OD x 4.2mm Thk

4шт.

10

15984334

BOLT,Hex, M18 x 1.5 x 50mm, Cl 10.9, Full Thd

4шт.

11

15540434

SCREW,Hex, M12 x 1.25 x 30mm, Cl 10.9, Full Thd

4шт.

12

11190774

BELLEVILLE WASHER,M12 Bolt Size x 24mm OD x 2.8mm Thk

4шт.

Выбрано товаров: 12