Запчасти Case IH FARMALL 105N (1.68.5[02]) - BRAKE PIPING (05) - REAR AXLE

Схема запчастей Case IH FARMALL 105N - (1.68.5[02]) - BRAKE PIPING (05) - REAR AXLE
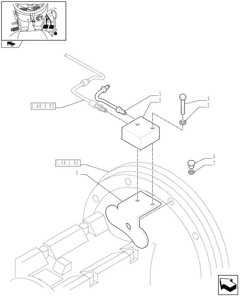
5
3
7
6
2
4
home
1.68.5 02
1.48.1 03
1
FIT
1:1
100%

Артикул

Название

Примечание

Количество

1

84227328

PIPE

LH

1шт.

1

84227326

PIPE

RH

1шт.

2

84415267

BLOCK

1шт.

2

84396342

BLOCK

1шт.

3

84227331

BRACKET

LH

1шт.

3

84227330

BRACKET

RH

1шт.

4

43117

SCREW,Hex, M6 x 1.0 x 30mm, Cl 8.8

4шт.

5

13550201

WASHER,6.15mm ID x 13mm OD x 1mm Thk

4шт.

6

10300211

PLUG,HEX, M6 x 1

2шт.

7

5162313

SEALING WASHER,4.8mm ID x 10mm OD x 1mm Thk

2шт.

Выбрано товаров: 10