Качественные детали и логистика
Оригинальные и аналоговые запчасти с доставкой по России, Казахстану и Беларуси
©2022 PartSell ООО "Система" ИНН 2463123282 ОГРН 1212400004838
Центральный офис: г. Красноярск, Академика Киренского, д.87, пом.4
Телефон: 8 (800) 777-65-74 Email: zakaz@partsell.ru
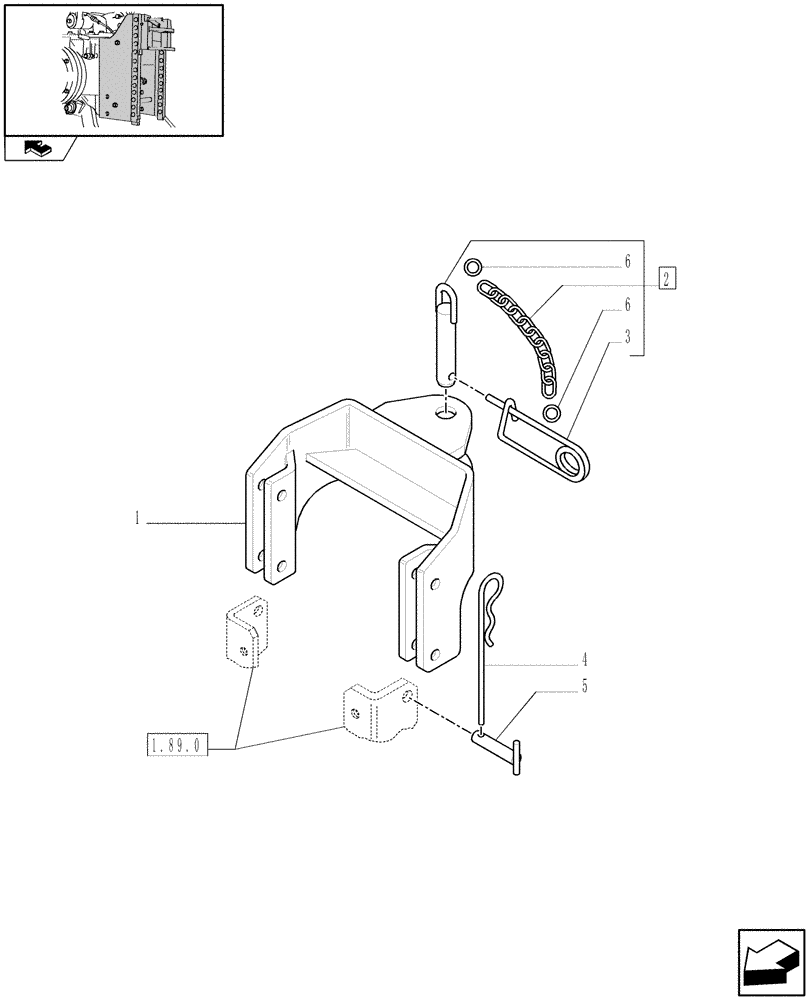
(1.89.0/03) - FIXED HOOK, CAT. "C", W/PIN 29MM HOLE (VAR.336895)
№
Артикул
Название
Примечание
Количество
1
5186154
HOOK
1шт.
2
5162712
PIN
ASSY, Incl 3, 6
3
5152004
HAIR PIN COTTER,195mm L
4
5188411
SPRING,32mm OD x 140mm L
2шт.
5
5188370
PIN,22mm OD x 50mm L
4шт.
6
44901192
SNAP RING,25mm ID
Выбрано товаров: 0