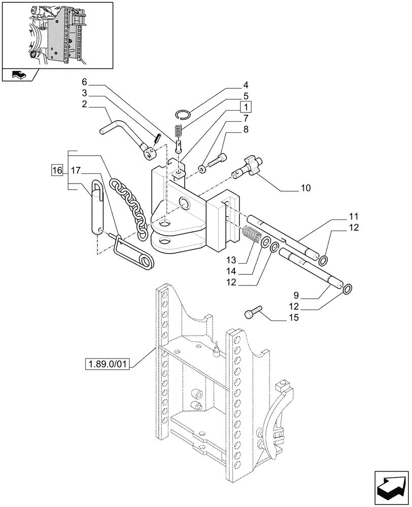
Запчасти Case IH FARMALL 105N (1.89.0/05) - FIXED HOOK, CAT. "C", (VERTICAL ADJUST SLIDING) (29MM HOLE) (VAR.331891) (09) - IMPLEMENT LIFT

Схема запчастей Case IH FARMALL 105N - (1.89.0/05) - FIXED HOOK, CAT. "C", (VERTICAL ADJUST SLIDING) (29MM HOLE) (VAR.331891) (09) - IMPLEMENT LIFT
1.89.0/01
17
9
3
12
14
6
home
16
13
8
11
12
1
5
7
12
15
4
10
2
FIT
1:1
100%

Артикул

Название

Примечание

Количество

1

5174811

TOW HOOK

Incl 2-14

1шт.

2

48021011

HANDLE

1шт.

3

14604070

LOCK PIN,M6 x 28, Slotted

1шт.

4

5191181

RING

1шт.

5

5191175

SPRING

1шт.

6

5191179

PIN

1шт.

7

5191173

WASHER

1шт.

8

14306221

HEX SOC SCREW,M8 x 16mm, Cl 8.8, Full Thd

1шт.

9

5191166

ROD

Lower

1шт.

10

5190754

PIN

1шт.

11

5191167

ROD

Upper, Incl 12

1шт.

12

5191172

RING

3шт.

13

5191176

SPRING

1шт.

14

5191177

RING

1шт.

15

11390524

BOLT,Hex, M16 x 1.5 x 40mm, Cl 8.8

8шт.

16

5162712

PIN

ASSY, Incl 17

1шт.

17

5152004

HAIR PIN COTTER,195mm L

1шт.

Выбрано товаров: 17