Запчасти Case IH FARMALL 105N (1.28.1[01]) - 16X16 TRANSMISSION - DRIVE SHAFT AND GEARS (03) - TRANSMISSION

Схема запчастей Case IH FARMALL 105N - (1.28.1[01]) - 16X16 TRANSMISSION - DRIVE SHAFT AND GEARS (03) - TRANSMISSION
10
15
9
15
5
7
1
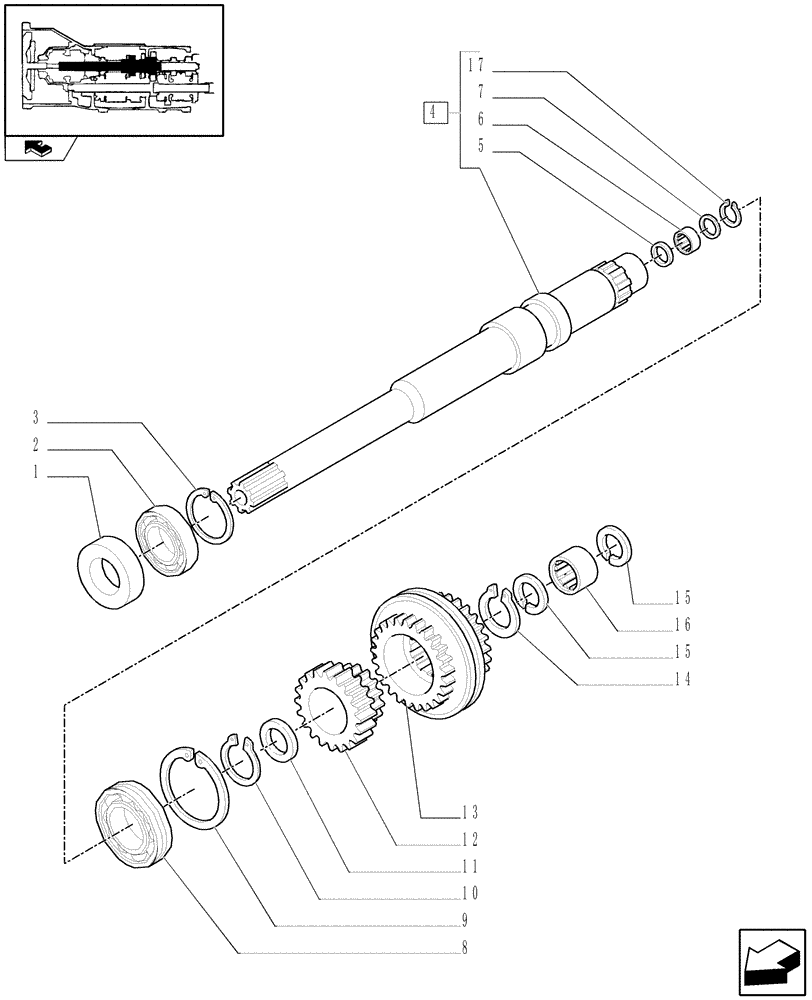
4
8
12
2
16
14
3
6
17
11
home
13
FIT
1:1
100%

Артикул

Название

Примечание

Количество

1

87342469

SEAL,44.2mm ID x 68mm OD x 12mm Thk

45 x 68 x 12

1шт.

2

28042490

BALL BEARING

45 x 75 x 16

1шт.

3

11061676

SNAP RING,M75, Int

1шт.

4

5177056

MAIN SHAFT

ASSY, Incl 5-7, 17

1шт.

5

5179747

SEAL,25mm ID x 31mm OD x 7mm Thk

25 x 31 x 7

1шт.

6

5181211

BEARING ASSY,Needle, 25mm ID x 32mm OD x 12mm W

D=25 x 32 x 12

1шт.

7

5181057

THRUST WASHER,25.1mm ID x 32mm OD x 4mm Thk

1шт.

8

5168187

BALL BEARING,50mm ID x 90mm OD x 20mm W

1шт.

9

5168154

CIRCLIP,85.6mm ID x 2.6mm Thk

D=90

1шт.

10

5168188

SNAP RING,1.5mm Thk, Ext

1шт.

11

5168189

THRUST WASHER,50mm ID x 61.5mm OD x 4mm Thk

1шт.

12

5176906

GEAR,31T

Reverse

1шт.

13

47125032

SYNCHRONIZER,82mm ID x 128mm OD x 42.9 mm L

D=82

1шт.

14

11069276

SNAP RING,M48, Ext

1шт.

15

5160929

SNAP RING,55.3mm OD x 1.5mm Width

1шт.

16

5168192

ROLLER BEARING,45mm ID x 53mm OD x 20mm W

1шт.

17

5180152

CIRCLIP,27.8mm ID

1шт.

Выбрано товаров: 17