Запчасти Case IH FARMALL 75N (1.28.7) - DRIVE GEAR SHAFT AND DRIVEN GEARS (03) - TRANSMISSION

Схема запчастей Case IH FARMALL 75N - (1.28.7) - DRIVE GEAR SHAFT AND DRIVEN GEARS (03) - TRANSMISSION
11
12
7
2
8
home
13
5
6
4
5
1
10
6
7
3
9
11
11
FIT
1:1
100%

Артикул

Название

Примечание

Количество

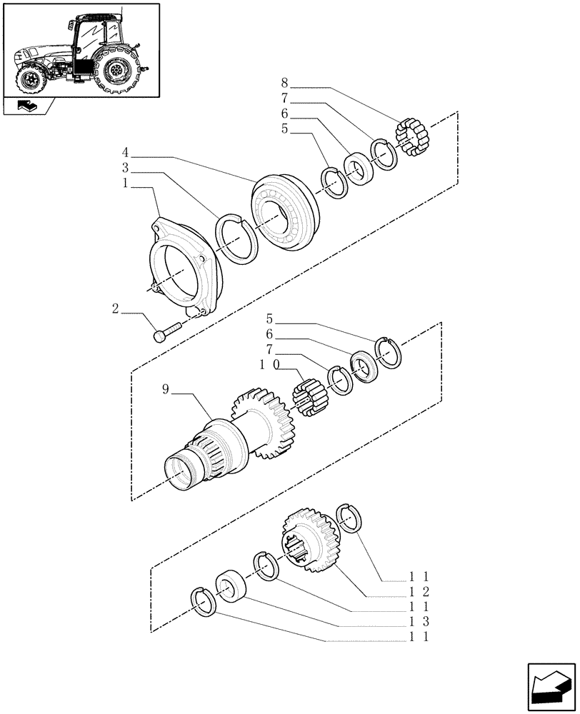
1

5176961

MANIFOLD

1шт.

2

16043924

BOLT,Hex, M8 x 1.25 x 35mm, Cl 8.8, Full Thd

4шт.

3

5177510

SNAP RING,2mm Thk, Ext

1шт.

4

5168366

BALL BEARING,70mm ID x 110mm OD x 20mm W

70 x 110 x 20

1шт.

5

5117076

CIRCLIP,M47, Ext

D=47

2шт.

6

5168364

SEAL,40mm ID x 47mm OD x 4mm Thk

40 x 47 x 4

2шт.

7

5139494

SNAP RING,45mm D x 1.5mm Thk, Ext

D=45

2шт.

8

5168362

ROLLER CAGE BEARING,40mm ID x 45mm OD x 17mm W

40 x 45 x 17

1шт.

9

5177502

SHAFT,184mm

1шт.

10

5128943

NEEDLE BEARING,40mm ID x 45mm OD x 27mm W

40 x 45 x 27

1шт.

11

5168188

SNAP RING,1.5mm Thk, Ext

3шт.

12

5173718

GEAR,36T

1шт.

13

5183697

SPACER,49.7mm ID x 61.5mm OD x 17.4mm L

1шт.

Выбрано товаров: 13