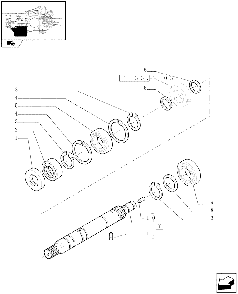
Запчасти Case IH FARMALL 75N (1.33.1[01]) - TRANSMISSION GEARS - 4WD, DRIVE SHAFT (04) - FRONT AXLE & STEERING

Схема запчастей Case IH FARMALL 75N - (1.33.1[01]) - TRANSMISSION GEARS - 4WD, DRIVE SHAFT (04) - FRONT AXLE & STEERING
10
3
8
1
7
4
9
4
3
11
6
3
2
5
1.33.1 03
home
6
FIT
1:1
100%

Артикул

Название

Примечание

Количество

1

5168315

DISC,35.1mm ID x 62mm OD x 6mm Thk

1шт.

2

5168314

SEAL,35mm ID x 62mm OD x 7mm Thk

35 x 62 x 7

1шт.

3

5109282

CIRCLIP,M35, Ext x 2.50 Thk

3шт.

4

370012

RING,M62, Internal

2шт.

5

28042470

BALL BEARING,35mm ID x 62mm OD x 14mm W

35 x 62 x 14

1шт.

6

5195944

SEALING RING,31.8mm ID x 35mm OD x 2.5mm Thk

2шт.

7

5190880

CONTROL SHAFT

1шт.

8

5177817

WASHER,35mm ID x 52mm OD x 3.55mm Thk

1шт.

9

20705250

BALL BEARING,35mm ID x 72mm OD x 17mm W

35 x 72 x 17

1шт.

10

13789720

SET SCREW,Hex Skt, M8 x 12mm, Flat Pt

1шт.

11

5190881

SCREW,Hex, M6 x 8mm L

M6 x 8

1шт.

11

47393277

PLUG

1шт.

Выбрано товаров: 12