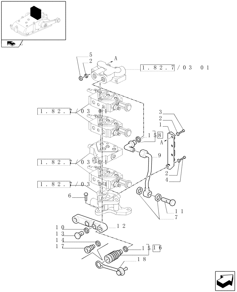
Запчасти Case IH FARMALL 75N (1.82.7/03[03]) - THREE REMOTE VALVES & FLOW-RATE REGULATOR FOR MDC - PIPES AND QUICK COUPLING (VAR.330390-331390 / 743525) (07) - HYDRAULIC SYSTEM

Схема запчастей Case IH FARMALL 75N - (1.82.7/03[03]) - THREE REMOTE VALVES & FLOW-RATE REGULATOR FOR MDC - PIPES AND QUICK COUPLING (VAR.330390-331390 / 743525) (07) - HYDRAULIC SYSTEM
15
10
13
12
7
11
a
a
16
15
2
18
home
1.82.7/03 01
1.82.7/03 01
1.82.7/03 01
1.82.7/03 01
4
5
9
3
17
6
2
8
2
1
14
FIT
1:1
100%

Артикул

Название

Примечание

Количество

1

5179944

CONSOLE

1шт.

2

11190574

BELLEVILLE WASHER,M10 Bolt Size x 20mm OD x 2.3mm Thk

2шт.

3

15888824

BOLT,Hex, M10 x 1.25 x 70mm, Cl 8.8

1шт.

4

15970524

BOLT,Hex, M10 x 1.25 x 20mm, Cl 8.8, Full Thd

1шт.

5

12164714

NUT,M10 x 1.25, Cl 8

2шт.

6

15540424

SCREW,Hex, M12 x 1.25 x 30mm, Cl 8.8, Full Thd

3шт.

7

5186176

SEALING WASHER,15.80mm ID x 26.92mm OD x 1.50mm, Steel, Zinc

2шт.

8

5158364

ELBOW,90°, 7/8"-14", M22 X 1.5 ORB

1шт.

9

5188499

RIGID TUBE

1шт.

10

86977728

O-RING,0.103" Thk x 0.75" ID, -116, Cl 5, 75 Duro

6шт.

11

5184345

BANJO BOLT,M18 x 1.5 x 34mm

M18 x 34

1шт.

12

5185533

HYD CONNECTOR

3шт.

13

5168481

BANJO BOLT,M18 x 1.5 x 38mm

M18

6шт.

14

14437985

O-RING,15.3mm ID x 2.4mm

6шт.

15

14438085

O-RING,19.3mm ID x 2.4mm

1шт.

16

5179557

COUPLING, QUICK, FEM

include p/n 1534623C1

1шт.

1534623C1

SEAL KIT

1шт.

17

5101741

QUICK MALE COUPLING

4шт.

18

5179576

PLUG,24mm, Green

Green, Std.

1шт.

18

5179577

PLUG,24mm, Blu

Blue, Std.

1шт.

18

5179578

PLUG,24mm, Brown

Brown, Std.

1шт.

Выбрано товаров: 21