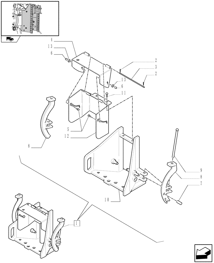
Запчасти Case IH FARMALL 75N (1.89.0/02A) - TOW HOOK SUPPORT - BREAKDOWN (09) - IMPLEMENT LIFT

Схема запчастей Case IH FARMALL 75N - (1.89.0/02A) - TOW HOOK SUPPORT - BREAKDOWN (09) - IMPLEMENT LIFT
8
3
6
11
9
8
2
4
10
5
12
13
7
home
1
6
13
2
FIT
1:1
100%

Артикул

Название

Примечание

Количество

1

5192034

SUPPORT

Assy

1шт.

2

10796401

COTTER PIN,M3.2 x 18

2шт.

3

5192733

PIN

1шт.

4

5192735

PLATE

1шт.

5

5192734

PIN

2шт.

6

14496525

WASHER

2шт.

7

14606874

ROLL PIN

2шт.

8

5190740

PLATE

LH

1шт.

8

5190732

PLATE

RH

1шт.

9

5190735

PIN

2шт.

10

5192737

BRACKET

1шт.

11

16043124

SCREW,Hex, M8 x 1.25 x 14mm, Cl 8.8, Full Thd

2шт.

12

5192736

PLATE

LH

1шт.

13

5190734

LOCKING RING

RH

2шт.

Выбрано товаров: 14