Запчасти Case IH FARMALL 95N (1.40.1/06) - STD FRONT AXLE WITH ELECTROHYDR. DIFF. LOCK LESS FRONT BRAKES (40 KM/H) - BEVEL GEAR/PINION SET (04) - FRONT AXLE & STEERING

Схема запчастей Case IH FARMALL 95N - (1.40.1/06) - STD FRONT AXLE WITH ELECTROHYDR. DIFF. LOCK LESS FRONT BRAKES (40 KM/H) - BEVEL GEAR/PINION SET (04) - FRONT AXLE & STEERING
home
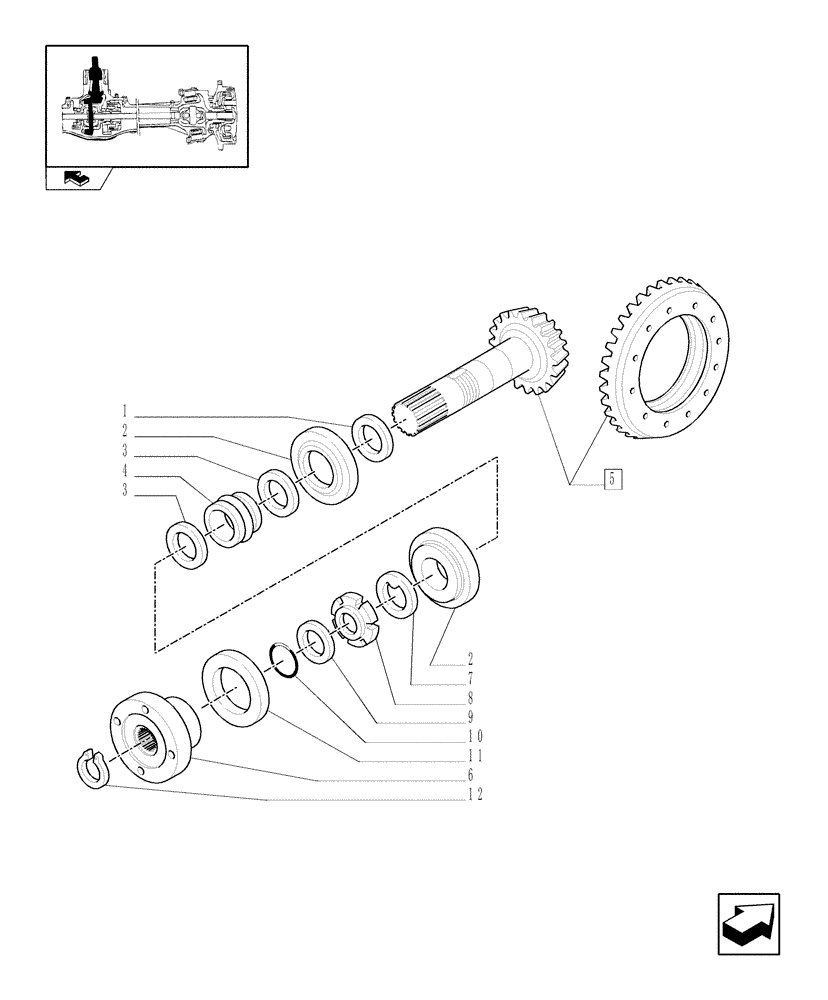
2
12
2
1
10
3
9
7
6
3
4
8
11
5
FIT
1:1
100%

Артикул

Название

Примечание

Количество

1

5194211

SHIM,2.5mm Thk

1шт.

1

5194212

SHIM,2.6mm Thk

1шт.

1

5194213

SHIM,2.7mm Thk

1шт.

1

5194214

SHIM,2.8mm Thk

1шт.

1

5194215

SHIM,2.9mm Thk

1шт.

1

5194216

SHIM,3.0mm Thk

1шт.

1

5194217

SHIM,3.1mm Thk

1шт.

1

5194218

SHIM,3.2mm Thk

1шт.

1

5194219

SHIM,3.3mm Thk

1шт.

1

5194220

SHIM,3.4mm Thk

1шт.

2

5194221

BALL BEARING,35mm ID x 80mm OD x 22.75mm W

2шт.

3

5194209

THRUST WASHER

2шт.

4

5194210

SPACER,37mm ID x 40mm OD x 32mm L

1шт.

5

87314134

BEVEL GEAR

ASSY, Z 12/32

1шт.

6

5194225

FLANGE

1шт.

7

5194207

LOCK WASHER,35.2mm ID x 50mm OD x 2mm Thk

1шт.

8

5194208

RING NUT,M35 x 1.5

M35 x 1.5

1шт.

9

5194222

WASHER

1шт.

10

5194223

O-RING

1шт.

11

5194224

SEALING RING,58mm ID x 82mm OD x 16mm Thk

1шт.

12

5194226

SNAP RING,M30, Ext

DIA=30

1шт.

Выбрано товаров: 21