Запчасти Case IH FARMALL 110V (35.204.120) - VAR - 341794, 759022, 759023 - REMOTE CONTROL VALVE, COMPONENTS (MDC) (35) - HYDRAULIC SYSTEMS

Схема запчастей Case IH FARMALL 110V - (35.204.120) - VAR - 341794, 759022, 759023 - REMOTE CONTROL VALVE, COMPONENTS (MDC) (35) - HYDRAULIC SYSTEMS
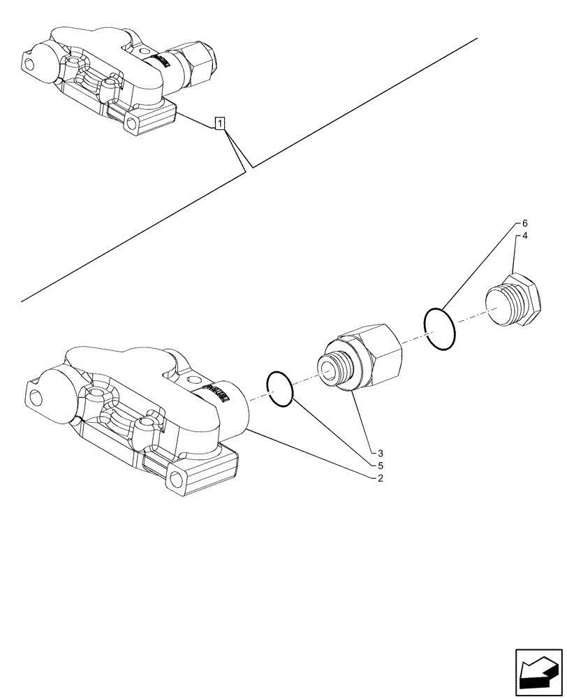
6
2
1
5
3
4
FIT
1:1
100%

Артикул

Название

Примечание

Количество

1

87397264

SUPPORT

ASSY, Cover Valve, Incl 2 - 6

1шт.

2

87358977

COVER

1шт.

3

5174043

HYD CONNECTOR,Hex, M22 x 1.5 x 52mm L

1шт.

4

83957506

PLUG,3/4"

1шт.

5

14438085

O-RING,19.3mm ID x 2.4mm

1шт.

6

167266

O-RING,0.116" Thk x 0.924" ID, -912, Cl 6, 90 Duro

1шт.

Выбрано товаров: 6