Запчасти Case IH FARMALL 110V (35.204.490) - VAR - 759024 - 3 REMOTE CONTROL VALVES, W/ DIVERTER (35) - HYDRAULIC SYSTEMS

Схема запчастей Case IH FARMALL 110V - (35.204.490) - VAR - 759024 - 3 REMOTE CONTROL VALVES, W/ DIVERTER (35) - HYDRAULIC SYSTEMS
7
6
2
8
5
6
9
10
3
4
1
FIT
1:1
100%

Артикул

Название

Примечание

Количество

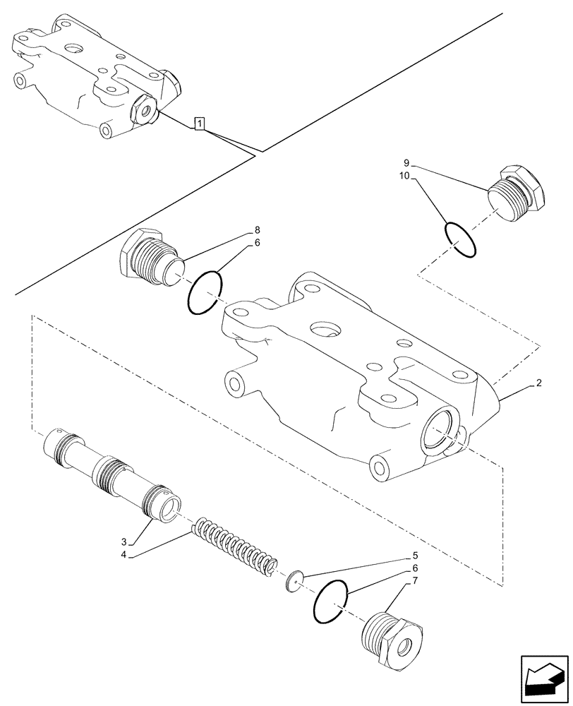
1

87396843

CONTROL VALVE

ASSY, Exit Side Section, Incl 2 - 10

1шт.

2

NSS

NOT SOLD SEPARAT

Body, Incl in 1

1шт.

3

83999793

HYDRAULIC VALVE

1шт.

4

83948862

SPRING,12.3mm OD x 76.2mm L

1шт.

5

5167122

VALVE

1шт.

6

14438185

O-RING,24mm ID x 3mm

2шт.

7

5167123

PLUG,7/16" - 20

1шт.

8

5173857

PLUG,Hex, M27 x 2

1шт.

9

83957506

PLUG,3/4"

1шт.

10

81826567

O-RING,0.116" Thk x 0.924" ID, -912, Cl 6, 90 Duro

1шт.

Выбрано товаров: 10