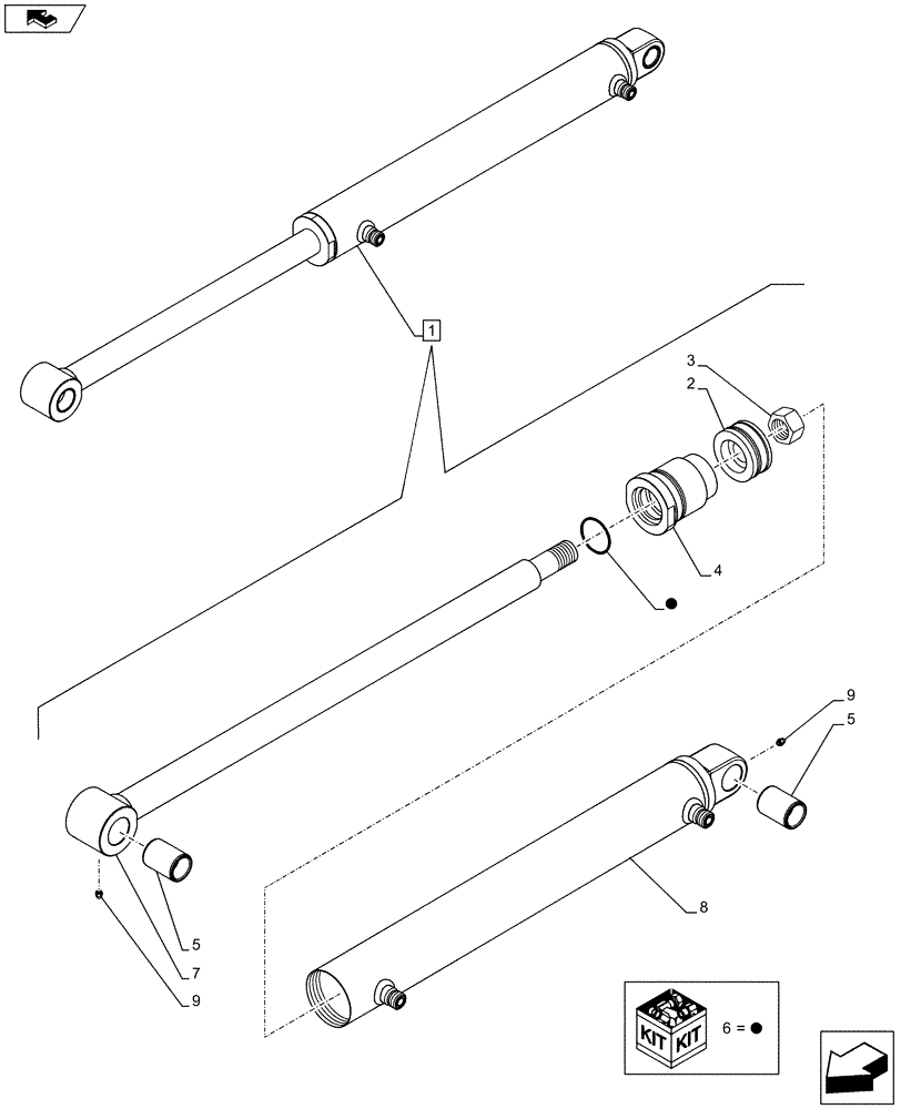
Запчасти Case IH FARMALL 105C (35.723.AA[02]) - VAR - 334490 - BUCKET CYLINDER, COMPONENTS (35) - HYDRAULIC SYSTEMS

Схема запчастей Case IH FARMALL 105C - (35.723.AA[02]) - VAR - 334490 - BUCKET CYLINDER, COMPONENTS (35) - HYDRAULIC SYSTEMS
6
4
3
6
5
6
1
7
8
5
9
9
2
home
FIT
1:1
100%

Артикул

Название

Примечание

Количество

1

84601535

BUCKET CYLINDER

ASSY, Incl 2 - 9

1шт.

2

84597456

PISTON

1шт.

3

84406293

NUT

1шт.

4

84597473

CYLINDER HEAD

1шт.

5

84597376

BUSHING

2шт.

6

84601542

SEAL KIT

1шт.

7

84601539

PISTON ROD

1шт.

8

NSS

NOT SOLD SEPARAT

Body Cylinder, Incl in 1

1шт.

9

87588865

FITTING,M6 x 1 x 12mm L

2шт.

Выбрано товаров: 9