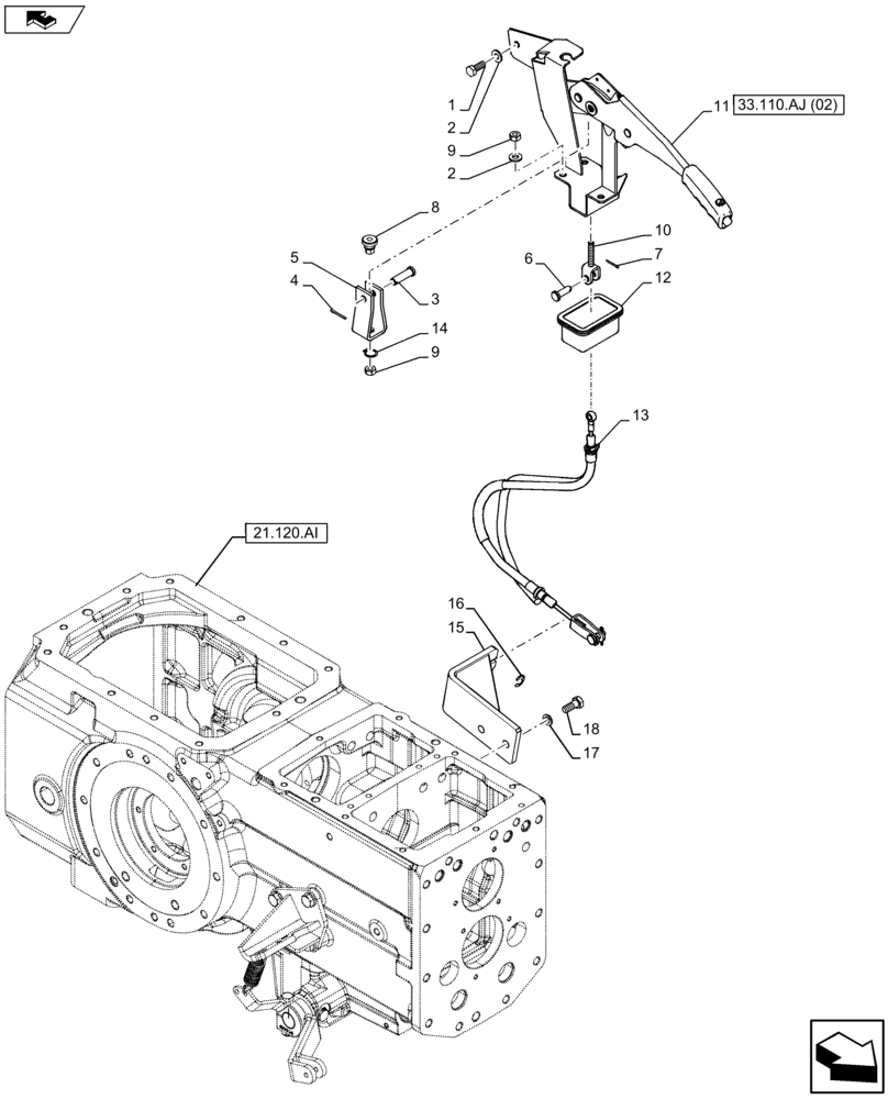
Запчасти Case IH FARMALL 105U (33.110.AJ[01]) - VAR - 334144, 335683 - PARKING BRAKE, CABLE (33) - BRAKES & CONTROLS

Схема запчастей Case IH FARMALL 105U - (33.110.AJ[01]) - VAR - 334144, 335683 - PARKING BRAKE, CABLE (33) - BRAKES & CONTROLS
12
2
4
15
home
3
33.110.aj (02)
16
18
2
home
5
1
9
10
17
14
6
9
7
21.120.ai
8
11
13
FIT
1:1
100%

Артикул

Название

Примечание

Количество

1

86980379

BOLT,Hex, M8 x 1.25 x 20mm, Cl 8.8

1шт.

2

10519604

WASHER,8.15mm ID x 17mm OD x 2mm Thk

4шт.

3

83902558

PIN,3/8" x 1.312"

1шт.

4

81813880

COTTER PIN,3/32" x 3/4"

1шт.

5

47571428

CLAMP BRACKET

1шт.

6

86639013

CLEVIS PIN,8mm OD x 25mm L

1шт.

7

10734201

COTTER PIN,M2 x 12

1шт.

8

84386747

NUT,Hex, M8 x 1.25, Cl 8.8

1шт.

9

16100811

NUT,Hex, M8, 6.80mm, Cl 8, ZND

4шт.

10

84493735

FORK,M8 x 1.25

1шт.

11

84370246

CONTROL LEVER

ASSY

1шт.

12

84335589

PLUG

1шт.

13

47571427

CABLE

1шт.

14

11066276

SNAP RING,M14, Ext

1шт.

15

84588699

BRACKET

1шт.

16

11087374

CIRCLIP,M13

1шт.

17

82879352

LOCK WASHER,M12

2шт.

18

15540434

SCREW,Hex, M12 x 1.25 x 30mm, Cl 10.9, Full Thd

2шт.

Выбрано товаров: 18