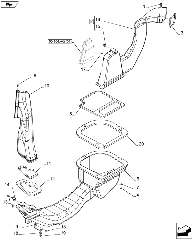
Запчасти Case IH FARMALL 105U (50.104.AO[01]) - VAR - 744716 - HEATER SYSTEM DUCT LH (50) - CAB CLIMATE CONTROL

Схема запчастей Case IH FARMALL 105U - (50.104.AO[01]) - VAR - 744716 - HEATER SYSTEM DUCT LH (50) - CAB CLIMATE CONTROL
11
14
9
15
13
1
20
10
6
8
2
16
18
3
5
19
13
home
4
12
17
7
50.104.aq (01)
FIT
1:1
100%

Артикул

Название

Примечание

Количество

1

87682398

SCREW,Torx, Round HD, M6 x 16mm, Cl 10.9

2шт.

2

84268726

AIR DUCT

ASSY, LH, Incl 15, 16

1шт.

3

47526938

GASKET,Section, 15mm x 20mm

1шт.

4

9804276

FLANGE NUT,Hex, M6 x 1, Cl 8

2шт.

5

84221402

GASKET

1шт.

6

84221818

AIR DUCT

LH

1шт.

7

47592529

BUSHING,12mm ID x 15.9mm OD x 19mm L

3шт.

8

5182260

SELF-TAP SCREW,M5 x 16mm L

1шт.

9

84332658

BRACKET

1шт.

10

84222342

AIR DUCT

LH

1шт.

11

84350446

GASKET

1шт.

12

84558848

GASKET

1шт.

13

84349415

SCREW,Torx, Round HD, M6 x 12mm, Cl 10.9

3шт.

14

84556935

BRACKET

1шт.

15

44911602

THREADED INSERT

1шт.

16

NSS

NOT SOLD SEPARAT

Duct, Incl in 2

1шт.

17

13046111

LOCK NUT,Flg Lock, M6

3шт.

18

11193274

BELLEVILLE WASHER,M6 Bolt Size x 15mm OD x 1.2mm Thk

1шт.

19

15896211

NUT,M6, Cl 8

1шт.

20

47381784

GASKET

1шт.

Выбрано товаров: 20