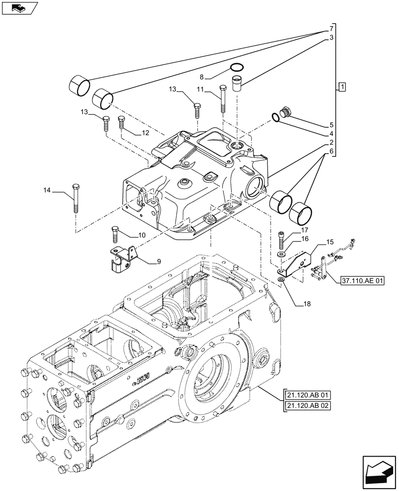
Запчасти Case IH FARMALL 105U (37.110.AC[01]) - STD + VAR - 390832, 743597 - HYDRAULIC LIFT, COVER (37) - HITCHES, DRAWBARS & IMPLEMENT COUPLINGS

Схема запчастей Case IH FARMALL 105U - (37.110.AC[01]) - STD + VAR - 390832, 743597 - HYDRAULIC LIFT, COVER (37) - HITCHES, DRAWBARS & IMPLEMENT COUPLINGS
21.120.ab 02
16
13
4
3
7
home
6
8
5
10
1
9
18
13
12
14
11
17
15
2
21.120.ab 01
37.110.ae 01
FIT
1:1
100%

Артикул

Название

Примечание

Количество

1

87378493

HOUSING

ASSY, Incl 2 - 7

1шт.

2

87384891

HOUSING

1шт.

3

5191650

RIGID TUBE

1шт.

4

81826567

O-RING,0.116" Thk x 0.924" ID, -912, Cl 6, 90 Duro

1шт.

5

83957506

PLUG,3/4"

1шт.

6

5186405

BUSHING,62.8mm ID x 68.03mm OD x 40mm L

2шт.

7

5186406

BUSHING,55.1mm ID x 60.03mm OD x 40mm L

2шт.

8

14463881

O-RING,1.359" ID x 0.139" Width

1шт.

9

84485744

BRACKET

1шт.

10

15540821

SCREW,Hex, M12 x 1.25 x 50mm, Cl 8.8

1шт.

11

15542921

BOLT,Hex, M12 x 1.25 x 95mm, Cl 8.8

2шт.

12

15540521

SCREW,Hex, M12 x 1.25 x 35mm, Cl 8.8, Full Thd

1шт.

13

86642435

BOLT,Hex, M12 x 1.25 x 45mm, Cl 8.8, Full Thd

2шт.

14

15541621

SCREW,Hex, M12 x 1.25 x 100mm, Cl 8.8

1шт.

15

47137733

BRACKET

1шт.

16

12648521

WASHER,12.2mm ID x 28mm OD x 4mm Thk

2шт.

17

14331621

HEX SOC SCREW,M12 x 1.25 x 55mm, Cl 8.8, Full Thd

2шт.

18

14499601

WASHER,13mm ID x 20mm OD x 2.5mm Thk

1шт.

Выбрано товаров: 18