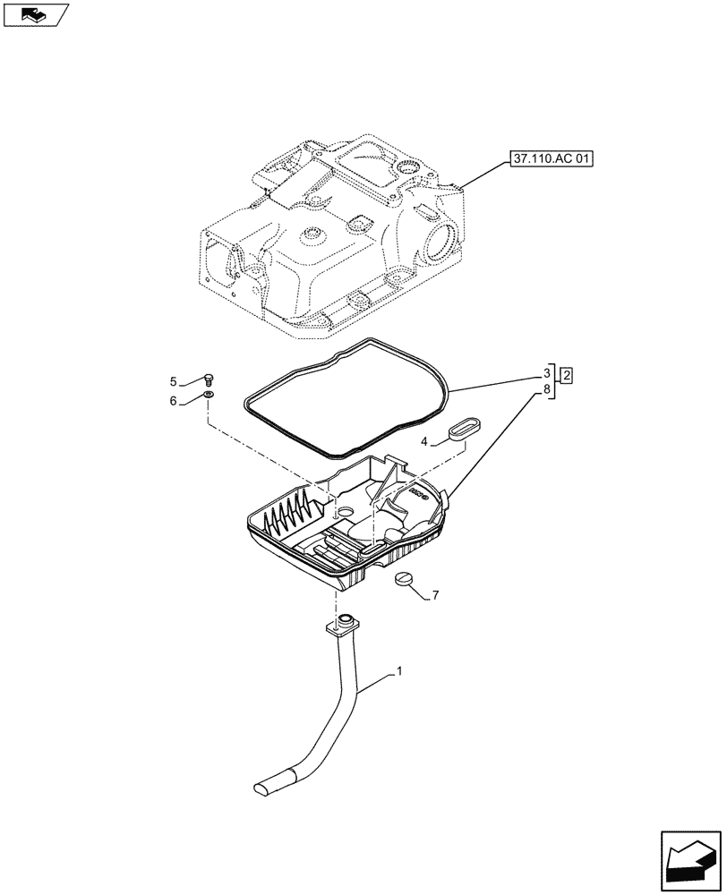
Запчасти Case IH FARMALL 105U (37.110.AP[02]) - VAR - 743597 - HYDRAULIC LIFT, OIL PAN, ISO (37) - HITCHES, DRAWBARS & IMPLEMENT COUPLINGS

Схема запчастей Case IH FARMALL 105U - (37.110.AP[02]) - VAR - 743597 - HYDRAULIC LIFT, OIL PAN, ISO (37) - HITCHES, DRAWBARS & IMPLEMENT COUPLINGS
37.110.ac 01
8
3
2
7
6
5
home
1
4
FIT
1:1
100%

Артикул

Название

Примечание

Количество

1

84600361

PIPE

1шт.

2

84493967

PAN

ASSY, Incl 3, 8

1шт.

3

84469664

SEAL

1шт.

4

87609691

SEAL

1шт.

5

16043124

SCREW,Hex, M8 x 1.25 x 14mm, Cl 8.8, Full Thd

1шт.

6

10730324

WASHER,8.15mm ID x 17mm OD x 2mm Thk

1шт.

7

14329101

PLUG,M30, Tapered

1шт.

8

NSS

NOT SOLD SEPARAT

Pan, Incl in 2

1шт.

Выбрано товаров: 8