Запчасти Case IH FARMALL 105U (55.020.AB[01]) - STD + VAR - 390798 - POWER DISTRIBUTION UNIT (55) - ELECTRICAL SYSTEMS

Схема запчастей Case IH FARMALL 105U - (55.020.AB[01]) - STD + VAR - 390798 - POWER DISTRIBUTION UNIT (55) - ELECTRICAL SYSTEMS
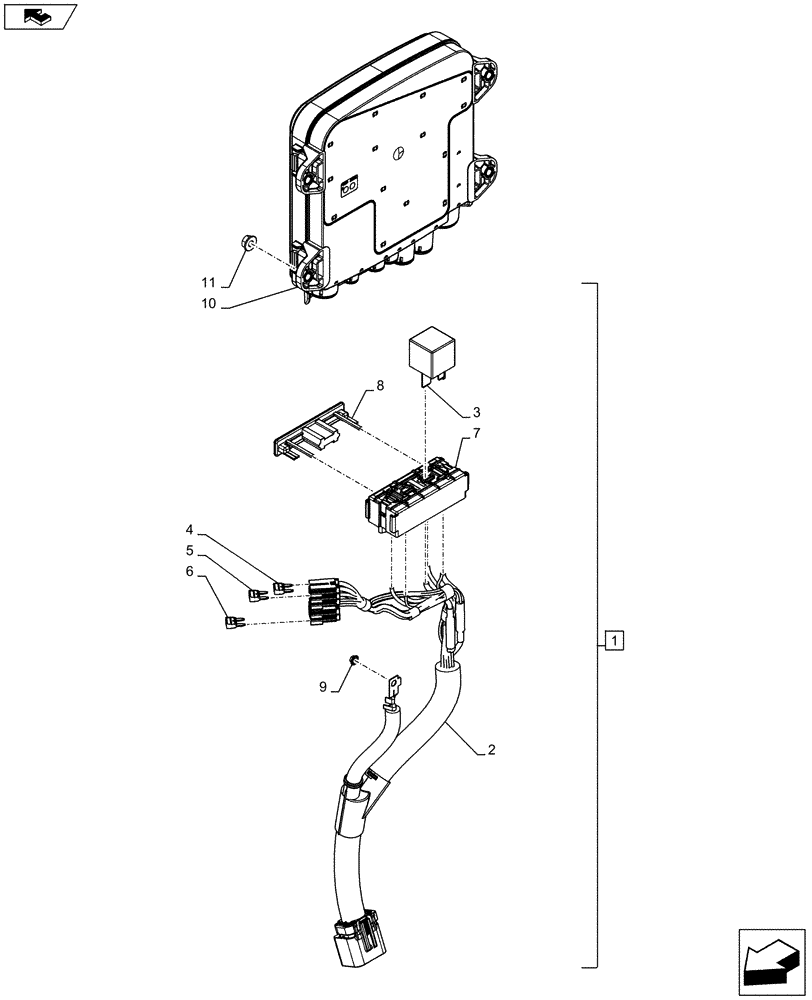
1
3
4
9
5
8
11
2
10
home
6
7
FIT
1:1
100%

Артикул

Название

Примечание

Количество

1

84408942

WIRE HARNESS

ASSY, Incl 2 - 8, Years: -21-APR-13

1шт.

1

47382905

WIRE HARNESS

ASSY, Incl 2 - 8, Start Year: 22-APR-13

1шт.

2

NSS

NOT SOLD SEPARAT

PDU Cable, Incl in 1

1шт.

3

87341931

RELAY,Mini ISO, 12V, 70A

1шт.

4

84127704

FUSE,20A, Mini, Yellow

1шт.

5

84152583

FUSE,7.5A, Mini, Brown

1шт.

6

84127702

FUSE,10A, Mini, Red

1шт.

7

84405124

ELEC CONNECTOR,Female, 8 Cavities

Module

1шт.

8

84405125

LOCKING TAB

Secondary

1шт.

9

12578015

NUT,M5 x .5, Flg

1шт.

10

84324816

FUSE BOX

, Years: -21-APR-13

1шт.

10

47383128

FUSE BOX

, Start Year: 22-APR-13

1шт.

11

14059214

FLANGE NUT,Hex, M6 x 6 Thd, Cl 8

M6

4шт.

Выбрано товаров: 13