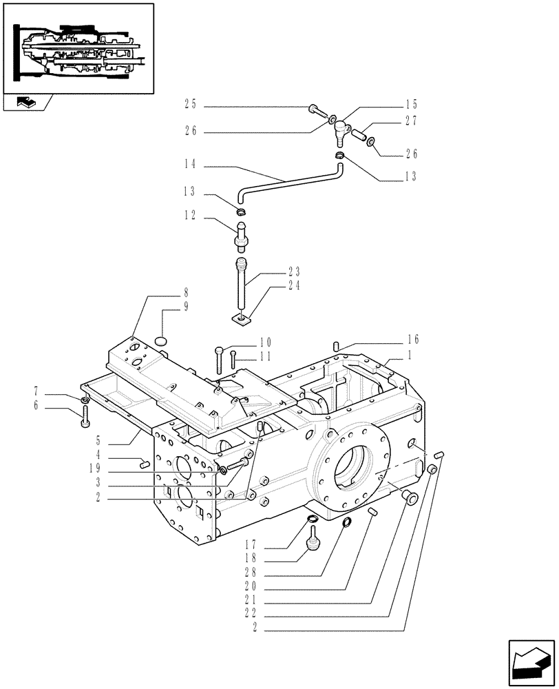
Запчасти Case IH FARMALL 105U (1.21.0[02]) - TRACTOR BODY (03) - TRANSMISSION

Схема запчастей Case IH FARMALL 105U - (1.21.0[02]) - TRACTOR BODY (03) - TRANSMISSION
1
20
14
3
18
23
8
25
5
home
26
27
11
22
7
15
19
24
10
4
28
6
12
21
16
9
2
13
13
2
26
17
FIT
1:1
100%

Артикул

Название

Примечание

Количество

1

47128986

TRANSMISSION HOUSING

, Serial Range: -Z8JL10652

1шт.

1

87718474

TRANSMISSION HOUSING

, Serial Range: Z8JL10653-C6853

1шт.

1

84313937

TRANSMISSION HOUSING

, Start Serial: D6853

1шт.

2

10839810

DOWEL,12mm OD x 18mm L

4шт.

3

15540734

BOLT,Hex, M12 x 1.25 x 45mm, Cl 10.9

12шт.

4

10839910

DOWEL,15mm OD x 20mm L

2шт.

5

5173638

SHIELD

1шт.

6

14305124

HEX SOC SCREW,M6 x 12mm, Cl 8.8, Full Thd

8шт.

7

11197774

BELLEVILLE WASHER,M6 Bolt Size x 12mm OD x 1.2mm Thk

8шт.

8

47129840

COVER

1шт.

9

504344694

PLUG,M25, Tapered

2шт.

10

15888824

BOLT,Hex, M10 x 1.25 x 70mm, Cl 8.8

2шт.

11

15970924

SCREW,Hex, M10 x 1.25 x 35mm, Cl 8.8

6шт.

12

5157395

FITTING

1шт.

13

10186890

HOSE CLAMP,M14-16, Worm

2шт.

13

11194174

BELLEVILLE WASHER,M14 Bolt Size x 27mm OD x 3mm Thk

, Start Serial: D6853

12шт.

14

82849357

HOSE,10mm ID x 5000mm L

1шт.

15

5153270

BREATHER

1шт.

16

5119529

DOWEL,15mm OD x 22mm L

2шт.

17

14438085

O-RING,19.3mm ID x 2.4mm

1шт.

18

87584549

PLUG

M22

1шт.

19

11198674

BELLEVILLE WASHER,M12 Bolt Size x 24mm OD x 3.2mm Thk

, Serial Range: -C6853

12шт.

20

5110200

DOWEL,12mm OD x 25mm L

M12 x 25

4шт.

21

5160960

PLUG,30mm

D=30

1шт.

22

14329101

PLUG,M30, Tapered

1шт.

23

5176843

TUBE

Breather

1шт.

24

10262160

SEAL,M28.4 x 34 x 2, Copper

1шт.

25

16044024

BOLT,Hex, M8 x 1.25 x 40mm, Cl 8.8

1шт.

26

10519604

WASHER,8.15mm ID x 17mm OD x 2mm Thk

2шт.

27

44906350

SPACER,8.5mm ID x 12mm OD x 16mm L

1шт.

28

5103230

O-RING,2.62mm Thk x 11.91mm ID

2.62 x 11.91

2шт.

Выбрано товаров: 0