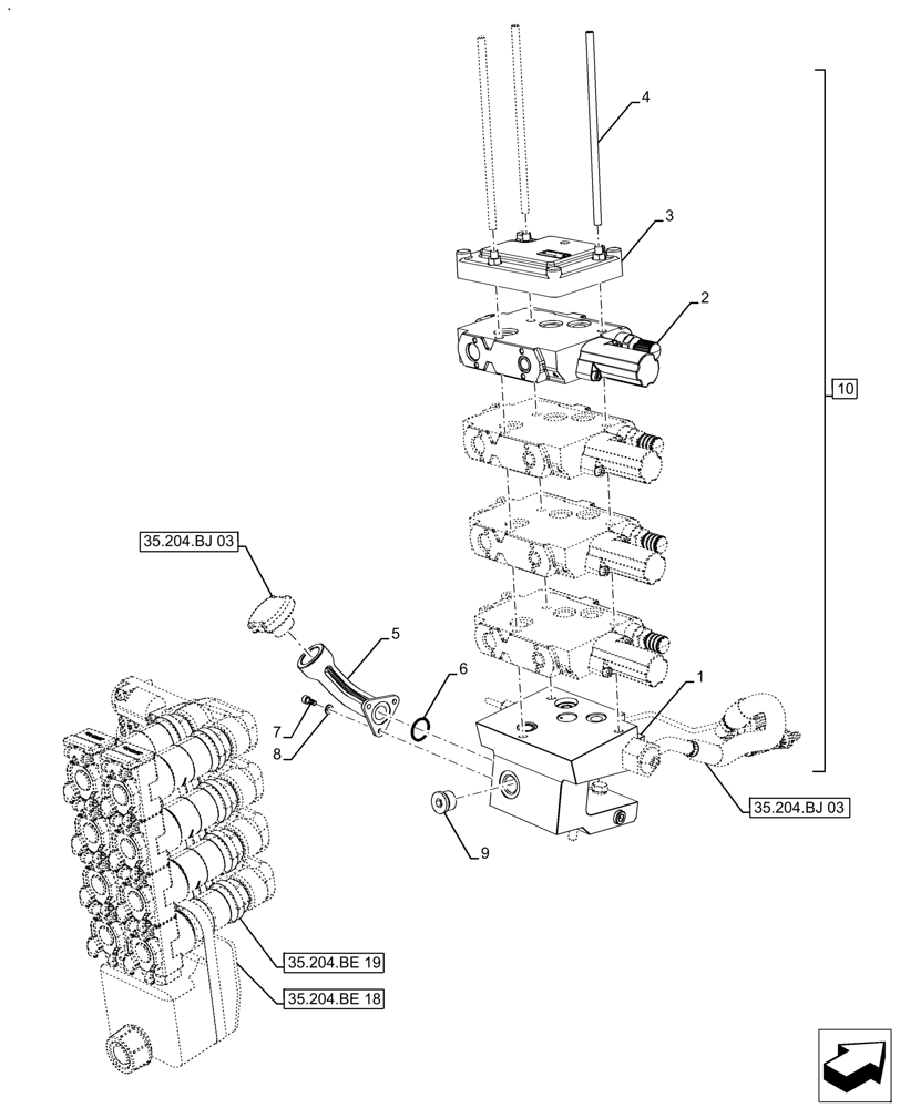
Запчасти Case IH FARMALL 110A (35.204.BE[17]) - VAR - 429479, 429480 - REMOTE CONTROL VALVE (4 VALVES), NOT APPLY FOR NAR (35) - HYDRAULIC SYSTEMS

Схема запчастей Case IH FARMALL 110A - (35.204.BE[17]) - VAR - 429479, 429480 - REMOTE CONTROL VALVE (4 VALVES), NOT APPLY FOR NAR (35) - HYDRAULIC SYSTEMS
35.204.be 18
4
7
8
3
9
2
6
1
5
10
35.204.be 19
35.204.bj 03
35.204.bj 03
FIT
1:1
100%

Артикул

Название

Примечание

Количество

1

47922868

Plate, Base, Inlet

BASE PLATE

1шт.

2

47922869

VALVE

Valve Section

4шт.

3

47922870

Cover, Valve

1шт.

4

47922871

TIE-ROD

Tie Rod, For 4 Slices

3шт.

5

47887105

PIPE

Pipe, Filling

1шт.

6

9626940

O-RING,0.07" Thk x 1.114" ID, -24, Cl 6, 90 Duro

1шт.

7

47940512

SCREW

Screw, Hex Soc, M6 x 14 Full 12.9 DAC

3шт.

8

86517328

LOCK WASHER,6.1mm ID x 11.8mm OD x 1.7mm Thk

3шт.

9

86625138

PLUG,7/18" - 14

1шт.

10

47891394

MANIFOLD VALVE

Valve, Remote Control Assy. Quadruple, Incl 1 - 4

1шт.

Выбрано товаров: 10