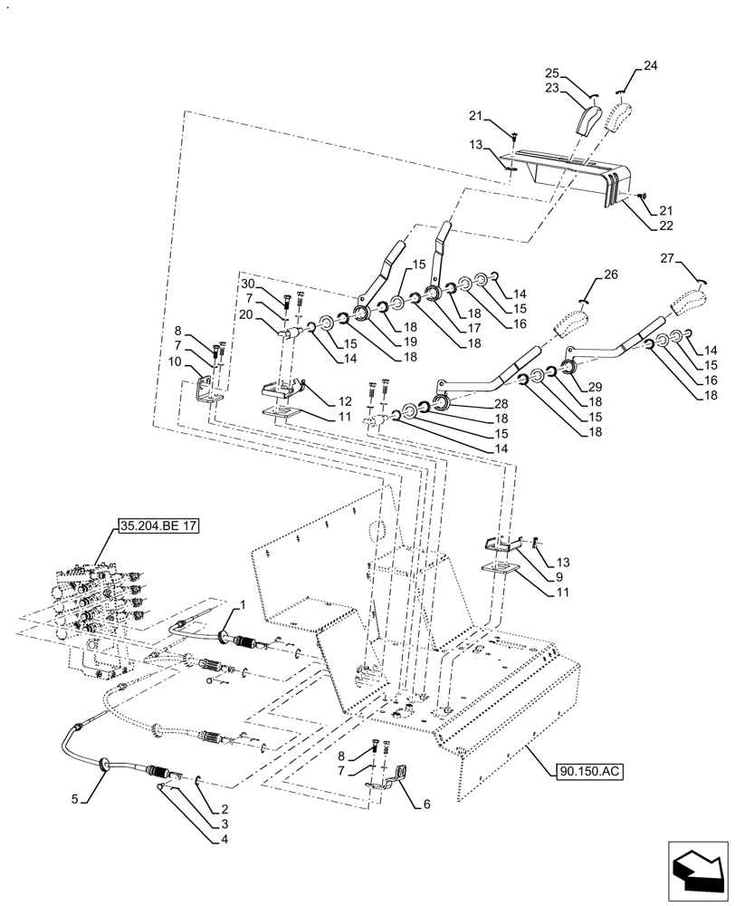
Запчасти Case IH FARMALL 110A (35.204.BL[13]) - VAR - 429480 - REMOTE CONTROL VALVE, CONTROL LEVER, CAB, NOT APPLY FOR NAR (35) - HYDRAULIC SYSTEMS

Схема запчастей Case IH FARMALL 110A - (35.204.BL[13]) - VAR - 429480 - REMOTE CONTROL VALVE, CONTROL LEVER, CAB, NOT APPLY FOR NAR (35) - HYDRAULIC SYSTEMS
90.150.ac
18
15
15
6
13
28
17
15
12
3
25
7
16
15
13
24
30
19
11
18
18
22
15
23
16
14
2
4
21
8
29
20
21
1
18
11
9
7
14
5
15
7
10
26
8
14
18
18
18
14
18
27
35.204.be 17
FIT
1:1
100%

Артикул

Название

Примечание

Количество

1

47931372

CABLE

Cable Assy. Remote Control Valve

2шт.

2

81865873

CLIP,19.40mm D

Hydraulic Remote Control Valve Cable Retaining

4шт.

3

81813879

COTTER PIN,1/16" x 3/4"

4шт.

4

385818

CLEVIS PIN,M8 x 20

4шт.

5

47920604

Cable Assy. Remote Control Valve

2шт.

6

47931366

Bracket, Remote Valve

1шт.

7

10571779

LOCK WASHER,Helical Spring, 8.10mm ID x 14.80mm OD x 2.00mm, ZNM

8шт.

8

43127

BOLT,Hex, M8 x 1.25 x 25mm, Cl 8.8

4шт.

9

47931330

Plate, Mounting, Stop Levers

1шт.

10

47931409

Bracket, Remote Valve

1шт.

11

73336265

SEAL

Levers

2шт.

12

48015690

Plate, Mounting, Stop Levers

1шт.

13

14371774

SPRING NUT,M6, U, 12mm long

2шт.

14

81822229

SNAP RING,#75, 3/4", Ext

4шт.

15

5126031

WASHER,21mm ID x 35mm OD x 2mm Thk

6шт.

16

82989335

SHIM

2шт.

17

47931402

Lever Assy. Remote Valve 2

1шт.

18

73335637

BUSHING

8шт.

19

47931406

Lever Assy. Remote Valve 1

1шт.

20

48014823

2шт.

21

1983037

HEX SOC SCREW,Btn Hd Flg, M6 x 16mm, Cl 10.9

2шт.

22

47932613

Cover Assy. Remote 4 Valve

1шт.

23

47056482

KNOB

4шт.

24

87698505

DATA PLAQUE

Green

1шт.

25

87698506

DATA PLAQUE

Blue

1шт.

26

87698516

DATA PLAQUE

Ginger

1шт.

27

87698517

DATA PLAQUE

Black

1шт.

28

47931362

Lever Assy. Remote Valve 3

1шт.

29

47931350

Lever Assy. Remote Valve 4

1шт.

30

43128

BOLT,M8 x 1.25 x 30mm, Cl 8.8

4шт.

Выбрано товаров: 30