Запчасти Case IH FARMALL 110A (50.100.AP[04]) - AIR CONDITIONING UNIT - AIR CONDITIONER (50) - CAB CLIMATE CONTROL

Схема запчастей Case IH FARMALL 110A - (50.100.AP[04]) - AIR CONDITIONING UNIT - AIR CONDITIONER (50) - CAB CLIMATE CONTROL
19
15
3
10
28
2
90.150.bg 02
22
29
11
20
5
4
13
6
50.100.ap 02
18
8
24
23
9
30
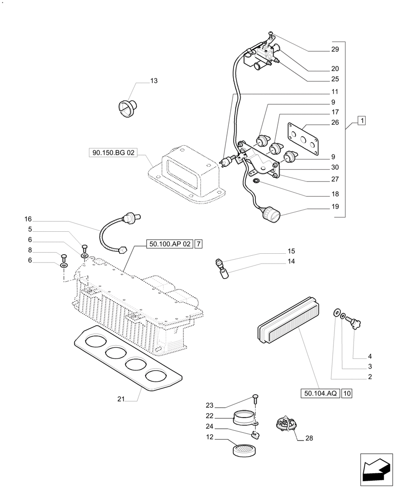
1
7
26
16
14
50.104.aq
6
27
12
21
25
9
17
FIT
1:1
100%

Артикул

Название

Примечание

Количество

1

84277278

CONTROL

Air Conditioner, Incl 9, 11. 17 - 20, 25 - 27, 29 - 30

1шт.

2

5094485

WASHER

1шт.

3

5094484

WASHER

1шт.

4

5092916

KNOB

1шт.

5

10903024

BOLT,Hex, M6 x 35mm, Cl 8.8

2шт.

6

10519404

WASHER,6.4mm ID x 11.95mm OD x 1.6mm Thk

4шт.

7

82034850

AIR CONDITIONER

& HEATER

1шт.

8

10902424

SCREW,Hex, M6 x 20mm, Cl 8.8, Full Thd

2шт.

9

5091886

KNOB

2шт.

10

87603874

CAB FILTER

1шт.

11

5091892

SWITCH

Fan

1шт.

12

87574476

FILTER

2шт.

12

5094465

BUTTON

1шт.

13

87623093

KNOB

1шт.

14

81871638

FOAM INSULATION

1шт.

15

87356362

SWITCH ASSY

1шт.

16

82027128

POTENTIOMETER,A/C

1шт.

17

84277310

BUTTON

1шт.

18

84277305

CIRCLIP

1шт.

19

84277314

POTENTIOMETER

1шт.

20

84529288

DRAINCOCK/TAP SUPPLY

1шт.

21

87574245

ISOLATOR

1шт.

22

87574468

VENT

Air Louver

6шт.

23

15909407

SELF-TAP SCREW,Pozidriv Oval Hd, M3.5 x 1.3 x 19mm

12шт.

24

14226690

SQUARE NUT

12шт.

25

87490060

CABLE

1шт.

26

87623087

PANEL

1шт.

27

87623084

PANEL

1шт.

28

5108688

DIFFUSER

1шт.

29

84277292

NUT

Screw M5 x 7.5

1шт.

30

84277296

CONTROL

1шт.

Выбрано товаров: 31