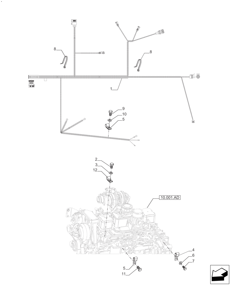
Запчасти Case IH FARMALL 110A (55.015.AB[01]) - ELECTRICAL WIRING HARNESS, MAIN FRONT (55) - ELECTRICAL SYSTEMS

Схема запчастей Case IH FARMALL 110A - (55.015.AB[01]) - ELECTRICAL WIRING HARNESS, MAIN FRONT (55) - ELECTRICAL SYSTEMS
1
7
5
10
4
10.001.ad
5
6
8
9
2
11
12
8
3
FIT
1:1
100%

Артикул

Название

Примечание

Количество

1

73337924

WIRE HARNESS

Harness Assy Main, Front

1шт.

2

16043224

BOLT,Hex, M8 x 16mm, Cl 8.8

1шт.

3

86625263

WASHER,9mm ID x 20mm OD x 1.6mm Thk

1шт.

4

81843670

CLIP,0.62", 0.34" Bolt Hole, P Type

1шт.

5

85700737

CLAMP,6.86mm ID, 14.99mm Bolt Hole, J Type

1шт.

6

82878483

WASHER

Washer M12 13x24x2.5

1шт.

7

83955887

BOLT,Hex, M12 x 1.75 x 25mm, Gr 8.8

1шт.

8

83933061

STRAP

2шт.

9

83955887

BOLT,Hex, M12 x 1.75 x 25mm, Gr 8.8

1шт.

10

86511324

WASHER,13mm ID x 24mm OD x 2.5mm Thk

1шт.

11

86050286

FLANGE BOLT,M10 x 20mm, Cl 8.8

1шт.

12

83976853

CLIP,12.7mm, Coat, 11.5mm Bolt Hole, J Type

1шт.

Выбрано товаров: 12