Запчасти Case IH FARMALL 110A (55.100.BZ[03]) - MAIN HARNESS, CAB (55) - ELECTRICAL SYSTEMS

Схема запчастей Case IH FARMALL 110A - (55.100.BZ[03]) - MAIN HARNESS, CAB (55) - ELECTRICAL SYSTEMS
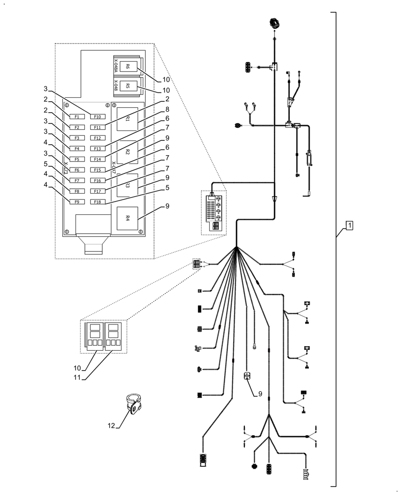
2
9
7
4
3
10
7
3
6
10
2
9
5
9
4
3
7
6
3
5
9
11
12
10
4
2
8
1
FIT
1:1
100%

Артикул

Название

Примечание

Количество

1

73337248

WIRE HARNESS

1шт.

Use With Kit Starter Switch Jumper 47926220

1шт.

1

47865361

WIRE HARNESS

, Serial Range: -CF03315M

1шт.

1

47935490

WIRE HARNESS

Incl 2 - 10, Start Serial: CF03316M

1шт.

2

87717080

FUSE,15A, Blue

3шт.

3

87717079

FUSE,7.5A

3шт.

4

83933689

FUSE,10A, Red

3шт.

5

87693742

FUSE,5A

2шт.

6

87689644

FUSE,30A, Blade/Uni

2шт.

7

87693743

FUSE,20A, Blade/Uni

3шт.

8

5080380

RELAY,12V, 30A

1шт.

9

5080366

RELAY,12V, 30A

3шт.

10

84157157

RELAY,12V, 20A, Micro

2шт.

(Qty 3) Only for Creeper

1шт.

11

84543528

RELAY,12V, 20A, Micro

1шт.

Only for Creeper

1шт.

12

10418801

CLAMP,16mm, Coat, P Type

3шт.

Выбрано товаров: 17