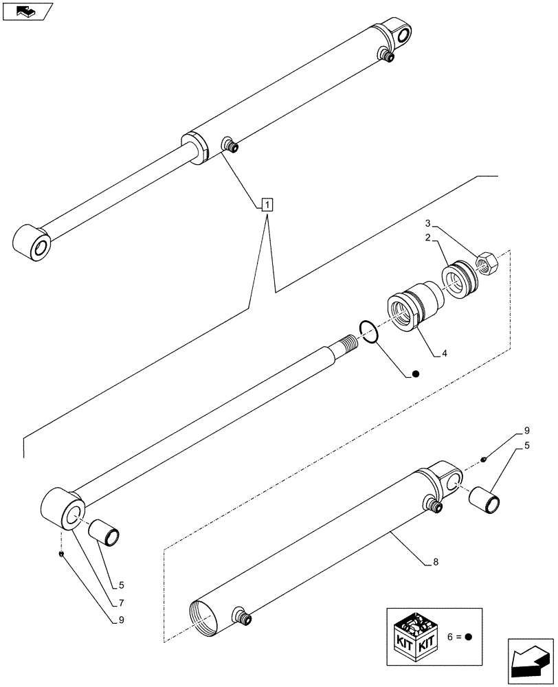
Запчасти Case IH FARMALL 115C (35.723.AA[01]) - VAR - 333489 - BUCKET CYLINDER, COMPONENTS (35) - HYDRAULIC SYSTEMS

Схема запчастей Case IH FARMALL 115C - (35.723.AA[01]) - VAR - 333489 - BUCKET CYLINDER, COMPONENTS (35) - HYDRAULIC SYSTEMS
5
5
home
6
4
1
6
6
8
9
2
9
3
7
FIT
1:1
100%

Артикул

Название

Примечание

Количество

1

84406337

BUCKET CYLINDER

ASSY, Incl 2 - 9

1шт.

2

84406340

PISTON

1шт.

3

84406341

NUT

1шт.

4

84406342

HEAD

1шт.

5

84406343

BUSHING

2шт.

6

84406344

SEAL KIT

1шт.

7

84406339

ROD

1шт.

8

NSS

NOT SOLD SEPARAT

Body Cylinder, Incl in 1

1шт.

9

87588865

FITTING,M6 x 1 x 12mm L

2шт.

Выбрано товаров: 9