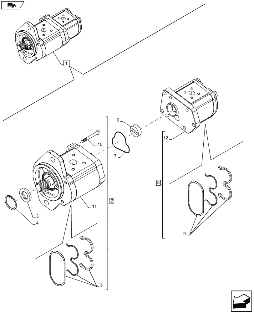
Запчасти Case IH FARMALL 115U (35.104.AA[03]) - VAR - 331690 - HYDRAULIC PUMP (80L/MIN) - COMPONENTS - END YR 09-MAR-2013 (35) - HYDRAULIC SYSTEMS

Схема запчастей Case IH FARMALL 115U - (35.104.AA[03]) - VAR - 331690 - HYDRAULIC PUMP (80L/MIN) - COMPONENTS - END YR 09-MAR-2013 (35) - HYDRAULIC SYSTEMS
2
10
home
11
9
8
12
7
6
5
1
4
3
FIT
1:1
100%

Артикул

Название

Примечание

Количество

1

84248992

HYDRAULIC PUMP

ASSY, Incl 2 - 12

1шт.

2

84555760

PUMP

ASSY, Incl 3 - 5, 10, 11

1шт.

3

84555746

OIL SEAL

1шт.

4

11059974

SNAP RING,M40, Int

1шт.

5

84555759

OIL SEAL

1шт.

6

84555743

BUSHING

1шт.

7

84555744

O-RING,0.103" Thk x 2.362" ID, -142, Cl 5, 75 Duro

1шт.

8

84555761

HYDRAULIC PUMP

ASSY, Incl 9, 12

1шт.

9

87601759

SEAL KIT

1шт.

10

47456039

SCREW

4шт.

11

NSS

NOT SOLD SEPARAT

Pump, Incl in 2

1шт.

12

NSS

NOT SOLD SEPARAT

Pump, Incl in 8

1шт.

Выбрано товаров: 12