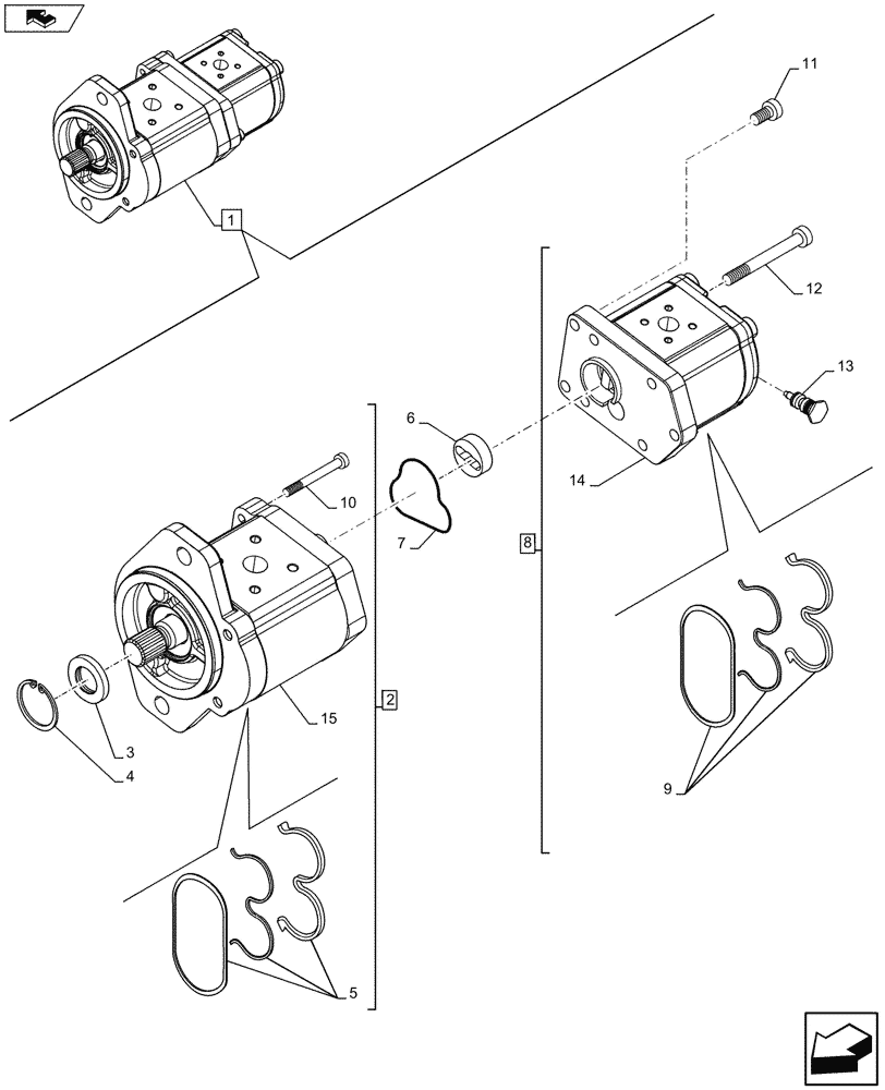
Запчасти Case IH FARMALL 115U (35.104.AA[03A]) - VAR - 331690 - HYDRAULIC PUMP (80 L/MIN) - COMPONENT - BEGIN YR 10-MAR-2013 (35) - HYDRAULIC SYSTEMS

Схема запчастей Case IH FARMALL 115U - (35.104.AA[03A]) - VAR - 331690 - HYDRAULIC PUMP (80 L/MIN) - COMPONENT - BEGIN YR 10-MAR-2013 (35) - HYDRAULIC SYSTEMS
15
4
10
5
home
3
1
2
7
11
6
8
14
13
12
9
FIT
1:1
100%

Артикул

Название

Примечание

Количество

1

47456761

HYDRAULIC PUMP,29.62 CC

ASSY, Incl 2 - 15

1шт.

2

84555760

PUMP

ASSY, Incl 3 - 5, 10, 15

1шт.

3

84555746

OIL SEAL

1шт.

4

47129430

RETAINER

1шт.

5

84555759

OIL SEAL

1шт.

6

84555743

BUSHING

1шт.

7

84150956

O-RING,0.103" Thk x 2.362" ID, -142, Cl 5, 75 Duro

1шт.

8

47456040

HYDRAULIC PUMP

ASSY, Incl 9, 12 - 14

1шт.

9

87601759

SEAL KIT

1шт.

10

47456039

SCREW

4шт.

11

9515003

BOLT,Hex, M10 x 1.5 x 30mm, Cl 10.9

3шт.

12

84165047

SCREW

4шт.

13

47499279

VALVE PRESSURE RELIE

1шт.

14

NSS

NOT SOLD SEPARAT

Pump, Incl in 8

1шт.

15

NSS

NOT SOLD SEPARAT

Pump, Incl in 2

1шт.

Выбрано товаров: 15