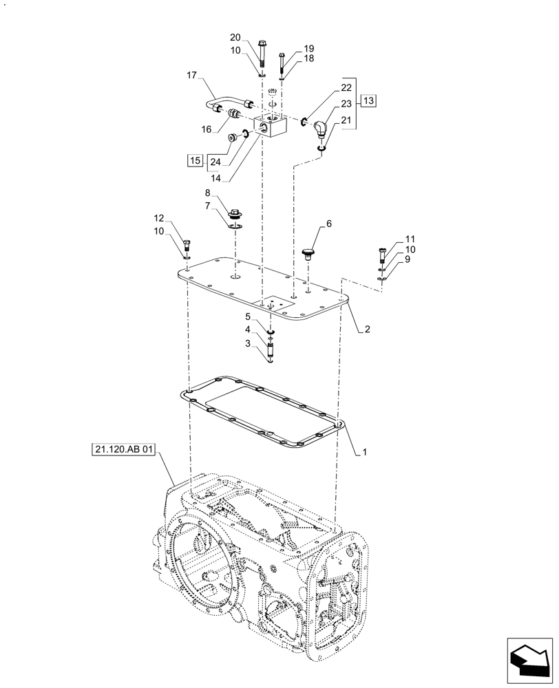
Запчасти Case IH FARMALL 120A (35.100.AB) - VAR - 335784 - LESS HYDRAULIC LIFT, ASSY (35) - HYDRAULIC SYSTEMS

Схема запчастей Case IH FARMALL 120A - (35.100.AB) - VAR - 335784 - LESS HYDRAULIC LIFT, ASSY (35) - HYDRAULIC SYSTEMS
21.120.ab 01
10
10
17
21
18
12
2
15
7
24
6
9
16
8
13
11
5
4
14
23
19
10
22
1
3
20
FIT
1:1
100%

Артикул

Название

Примечание

Количество

1

81865596

GASKET,0.24mm Thk

Hydraulic Lift HSG Cover

1шт.

2

47506262

Less Hydraulic Lift Cover

1шт.

3

83992634

O-RING,0.562" ID x 0.07" Width

2шт.

4

83902336

TUBE,17.145 mm OD, 50.04 mm Length

1шт.

5

86503302

O-RING,0.139" Thk x 0.984" ID, -214, Cl 6, 90 Duro

1шт.

6

83925022

BREATHER,.375-18 NPT

Assy. Hydraulic Lift

1шт.

7

81872311

COPPER WASHER,35.6mm ID x 48.3mm OD x 1.5mm Thk

1шт.

8

83924810

PLUG,1-3/8" - 12

1шт.

9

81825893

WASHER,1/2" ID x 1.062" OD x 0.095" Thk

7шт.

10

83925802

LOCK WASHER,1/2"

15шт.

11

81843379

LOCK BOLT,Hex, 1/2" - 13 x 1 1/2", Gr 8

7шт.

12

81821209

BOLT,Hex, 1/2" - 13 x 1", Gr 5

7шт.

13

9992307

90 ELBOW,90 Degree, 13/16"-16 x 3/4"-16 Adj, ORFS

Incl 21 - 23

1шт.

14

47506470

Manifold, Less Hydraulic Lift

1шт.

15

86625138

PLUG,7/18" - 14

Incl 24

2шт.

16

87610720

HYD CONNECTOR,7/8" - 14 ORB x 13/16" - 16 ORFS

1шт.

17

47525789

Hydraulic Assy. Recycling Tube

1шт.

18

83990583

LOCK WASHER,M8 x 14.8mm OD x 2.1mm Thk

3шт.

19

86511843

BOLT,Hex Flng, M8 x 1.25 x 60mm, Cl 8.8

3шт.

20

84246779

BOLT

Flange, 1/2-13 X 3.0 GR 8 ZND

1шт.

21

128825

O-RING,0.087" Thk x 0.644" ID, -908, Cl 6, 90 Duro

1шт.

22

9992298

O-RING,0.07" Thk x 0.489" ID, -14, Cl 6, 90 Duro

1шт.

23

NSS

NOT SOLD SEPARAT

Elbow, Incl in 13

1шт.

24

167269

O-RING,0.097" Thk x 0.755" ID, -910, Cl 6, 90 Duro

1шт.

Выбрано товаров: 24