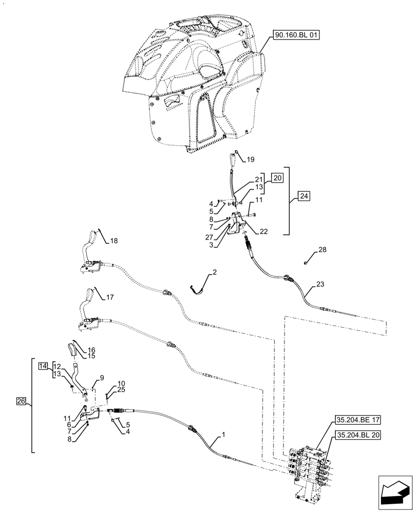
Запчасти Case IH FARMALL 120A (35.204.BL[14]) - VAR - 429474 - 4 REMOTE CONTROL VALVES, CONTROL LEVER, CAB (35) - HYDRAULIC SYSTEMS

Схема запчастей Case IH FARMALL 120A - (35.204.BL[14]) - VAR - 429474 - 4 REMOTE CONTROL VALVES, CONTROL LEVER, CAB (35) - HYDRAULIC SYSTEMS
90.160.bl 01
9
13
11
3
5
8
23
16
20
24
28
19
5
8
17
14
7
4
1
21
13
22
26
2
6
7
27
10
11
15
25
4
12
35.204.bl 20
18
35.204.be 17
FIT
1:1
100%

Артикул

Название

Примечание

Количество

1

48011030

CABLE

Remote Control Valve

3шт.

2

10448790

CLAMP,30mm, Coat, 9mm Bolt Hole, P Type

1шт.

3

86588450

WASHER,6.6mm ID x 12mm OD x 1.6mm Thk

3шт.

4

385818

CLEVIS PIN,M8 x 20

4шт.

5

81813879

COTTER PIN,1/16" x 3/4"

4шт.

6

47687173

SUPPORT

Assy. Lever, Remote Valve

1шт.

7

86517328

LOCK WASHER,6.1mm ID x 11.8mm OD x 1.7mm Thk

1шт.

8

86500688

NUT,Hex, M6 x 1.0, Cl 10.9

1шт.

9

81865873

CLIP,19.40mm D

Hydraulic Remote Control Valve

4шт.

10

120100

BOLT,M6 x 20mm, Cl 8.8

6шт.

11

84487136

PIN,M6 x 1, 49.5mm L

1шт.

12

47861013

LEVER

Assy. Remote Valve

1шт.

13

84487137

BUSHING,10mm ID x 12mm OD x 10mm L

2шт.

14

47861014

LEVER

Assy. With Bushing, Incl 12, 13

1шт.

15

47056482

KNOB

Shift

4шт.

16

87698505

DATA PLAQUE

Green

1шт.

17

87698506

DATA PLAQUE

Blue

1шт.

18

87698516

DATA PLAQUE

Ginger

1шт.

19

87698517

DATA PLAQUE

Black

1шт.

20

47861022

LEVER

Assy. With Bushing, Incl 13, 21

1шт.

21

47861021

LEVER

Assy. Remote Valve

1шт.

22

47690369

SUPPORT

Assy. 4 Valve Remote

1шт.

23

48011031

CABLE

Assy. Remote Control Valve

1шт.

24

47861023

SUPPORT

And Lever Assy. Remote Valve, Incl 7, 8, 11, 13, 20 - 22

1шт.

25

86517328

LOCK WASHER,6.1mm ID x 11.8mm OD x 1.7mm Thk

6шт.

26

47861015

SUPPORT

Remote Valve, Incl 6 - 8, 11 - 14

3шт.

27

86500688

NUT,Hex, M6 x 1.0, Cl 10.9

3шт.

28

83951873

PLUG

Back Window Frame Assy. Lower

1шт.

Выбрано товаров: 28