Запчасти Case IH FARMALL 120A (35.204.BL[16]) - VAR - 429473 - 3 REMOTE CONTROL VALVES, CONTROL LEVER, W/O CAB (35) - HYDRAULIC SYSTEMS

Схема запчастей Case IH FARMALL 120A - (35.204.BL[16]) - VAR - 429473 - 3 REMOTE CONTROL VALVES, CONTROL LEVER, W/O CAB (35) - HYDRAULIC SYSTEMS
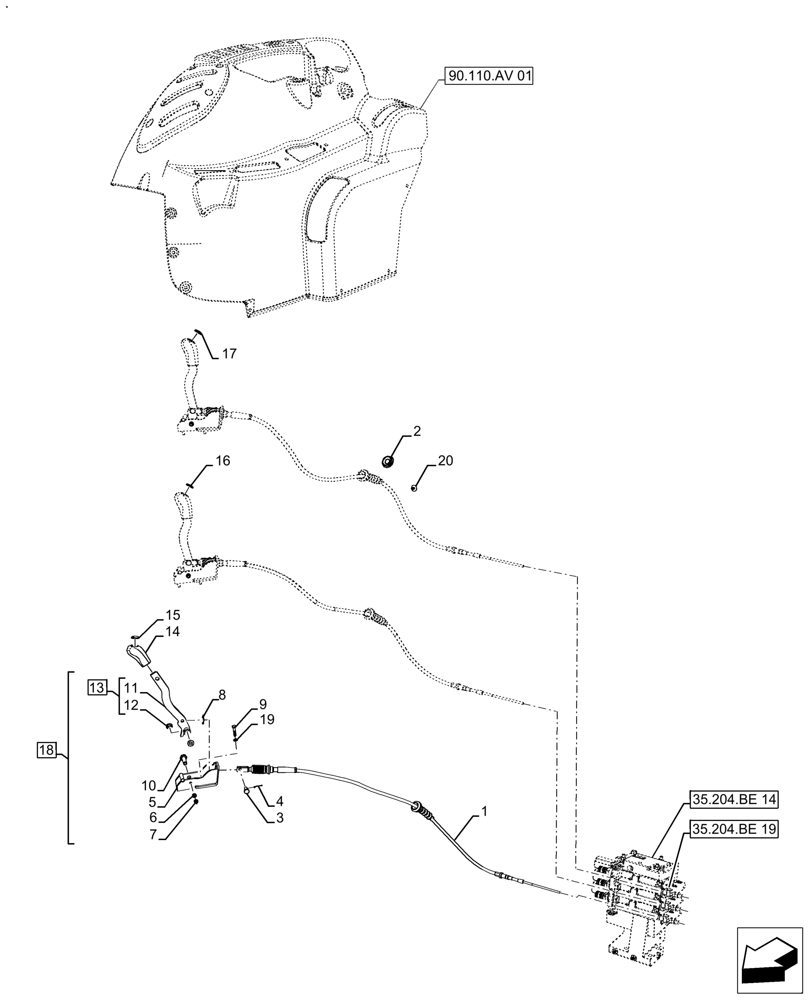
90.110.av 01
7
9
11
8
5
10
2
14
15
12
3
4
18
17
16
19
6
20
13
1
35.204.be 14
35.204.be 19
FIT
1:1
100%

Артикул

Название

Примечание

Количество

1

48011030

CABLE

Assy. Remote Control Valve

3шт.

2

81862738

PLUG,M38 x 28 x 5mm

1шт.

3

385818

CLEVIS PIN,M8 x 20

3шт.

4

81813879

COTTER PIN,1/16" x 3/4"

3шт.

5

47687173

SUPPORT

Assy. Lever, Remote Valve

1шт.

6

86517328

LOCK WASHER,6.1mm ID x 11.8mm OD x 1.7mm Thk

1шт.

7

86500688

NUT,Hex, M6 x 1.0, Cl 10.9

1шт.

8

81865873

CLIP,19.40mm D

Hydraulic Remote Control Valve

3шт.

9

120100

BOLT,M6 x 20mm, Cl 8.8

6шт.

10

84487136

PIN,M6 x 1, 49.5mm L

1шт.

11

47864993

LEVER

Assy. Remote Valve

1шт.

12

84487137

BUSHING,10mm ID x 12mm OD x 10mm L

2шт.

13

47861016

LEVER

Assy. With Bushing, Incl 11, 12

1шт.

14

47056482

KNOB

Shift

3шт.

15

87698505

DATA PLAQUE

Green

1шт.

16

87698506

DATA PLAQUE

Blue

1шт.

17

87698516

DATA PLAQUE

Ginger

1шт.

18

47861017

SUPPORT

Support, Remote Valve, Incl 5 - 7, 10 - 13

3шт.

19

86517328

LOCK WASHER,6.1mm ID x 11.8mm OD x 1.7mm Thk

6шт.

20

83951873

PLUG

Back Window Frame Assy. Lower

1шт.

Выбрано товаров: 20