Качественные детали и логистика
Оригинальные и аналоговые запчасти с доставкой по России, Казахстану и Беларуси
©2022 PartSell ООО "Система" ИНН 2463123282 ОГРН 1212400004838
Центральный офис: г. Красноярск, Академика Киренского, д.87, пом.4
Телефон: 8 (800) 777-65-74 Email: zakaz@partsell.ru
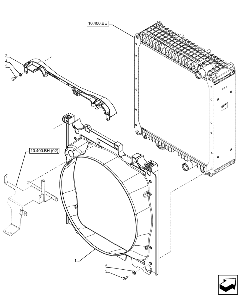
(10.400.BF[02]) - VAR - 340022 - RADIATOR, FRAME, CONVEYOR
№
Артикул
Название
Примечание
Количество
1
47552366
CONVEYOR
1шт.
2
84424770
RUBBER WEATHERSTRIP
3
87015744
SCREW,Hex, M8 x 20mm, Cl 10.9
M8 x 20mm
5шт.
4
84188434
WASHER,8.4mm ID x 16mm OD x 1.6mm Thk
8.4 x 16 x 1.6mm
2шт.
5
86639316
WASHER,8.4mm ID x 20mm OD x 2mm Thk
8.4 x 20 x 2mm
3шт.
Выбрано товаров: 0