Запчасти Case IH FARMALL 120C (39.140.AF[03]) - VAR - 334215 - FRONT, BALLAST (240 KG) (39) - FRAMES AND BALLASTING

Схема запчастей Case IH FARMALL 120C - (39.140.AF[03]) - VAR - 334215 - FRONT, BALLAST (240 KG) (39) - FRAMES AND BALLASTING
25.100.av (01)
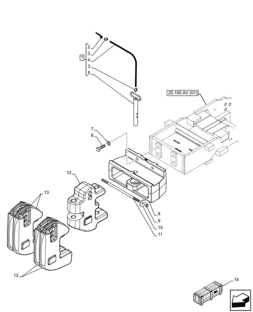
5
3
6
3
2
7
13
1
4
12
11
8
14
13
10
9
FIT
1:1
100%

Артикул

Название

Примечание

Количество

1

47132417

PIN,3.6mm OD x 64mm L

ASSY , Incl 2 - 5

2шт.

2

44901190

COTTER PIN,6.3mm x 77.6mm L

1шт.

3

44901192

SNAP RING,25mm ID

2шт.

4

NSS

NOT SOLD SEPARAT

Chain, Incl in 1

1шт.

5

NSS

NOT SOLD SEPARAT

Pin, Incl in 1

1шт.

6

11125134

BOLT,Hex, M20 x 70mm, Cl 10.9

4шт.

7

11191774

BELLEVILLE WASHER,M20 Bolt Size x 38mm OD x 4.6mm Thk

4шт.

8

84479218

SUPPORT,60 Kg

1шт.

9

12163321

NUT,M16, Cl 10

M16

2шт.

10

44018768

WASHER,17mm ID x 55mm OD x 8mm Thk

M17 x 55 x 8

2шт.

11

82028306

THREADED ROD,M16 x 2 x 385mm L

1шт.

12

87325015

WEIGHT,75Kg/165Lb

80Kg

1шт.

13

47056220

WEIGHT,40Kg/88Lb

40Kg

4шт.

14

710247250

DIA KIT, TRACTOR

4+1 Front Weights Pack (40Kg Each), Incl 2 - 5, 10 - 13

1шт.

Выбрано товаров: 14