Запчасти Case IH FARMALL 120U (55.404.210) - VAR - 332717, 337132 - WORKING LIGHT (55) - ELECTRICAL SYSTEMS

Схема запчастей Case IH FARMALL 120U - (55.404.210) - VAR - 332717, 337132 - WORKING LIGHT (55) - ELECTRICAL SYSTEMS
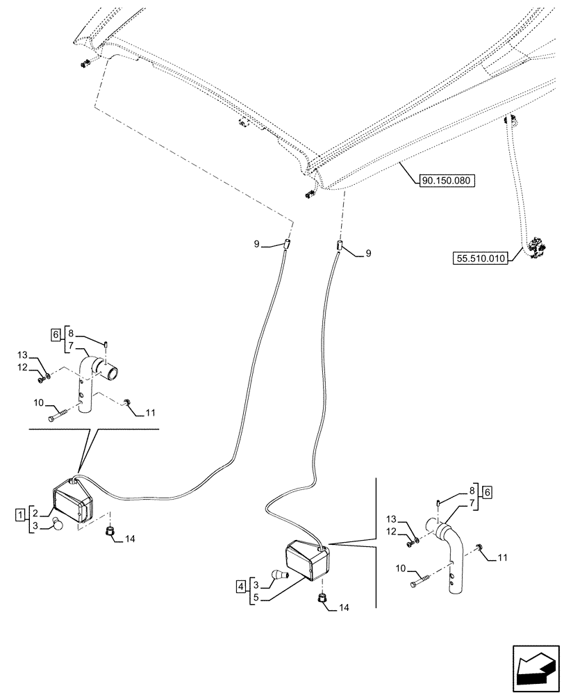
90.150.080
11
13
12
6
5
6
3
8
10
8
1
4
7
7
12
9
14
3
14
10
9
2
13
55.510.010
11
FIT
1:1
100%

Артикул

Название

Примечание

Количество

1

47511600

TURN/SMV LAMP

ASSY, Incl 2, 3 (Qty 1)

1шт.

2

NSS

NOT SOLD SEPARAT

Lamp, Incl in 1

1шт.

3

14148190

BULB,P21W, 12V, 21W

2шт.

4

47511601

TURN/SMV LAMP

ASSY, Incl 3 (Qty 1), 5

1шт.

5

NSS

NOT SOLD SEPARAT

Lamp, Incl in 4

1шт.

6

47509204

BRACKET

ASSY, Incl 7 (Qty 1), 8 (Qty 1)

2шт.

7

NSS

NOT SOLD SEPARAT

Bracket, Incl in 6

2шт.

8

14163470

LOCK PIN,M4 x 10, Slotted

2шт.

9

47135267

ELEC CONNECTOR,Female, 4 Cavities

2шт.

10

10978521

BOLT,Hex, M5 x 35mm, Cl 8.8

4шт.

11

14084111

LOCK NUT,M5 x .8, Flg

4шт.

12

13271914

SCREW,Pozidriv Pan Hd, M4 x 10mm, Cl 5.8, Full Thd

4шт.

13

10519201

WASHER,4.3mm ID x 9mm OD x 0.8mm Thk

4шт.

14

5176369

PLUG,21.2mm OD

2шт.

Выбрано товаров: 14