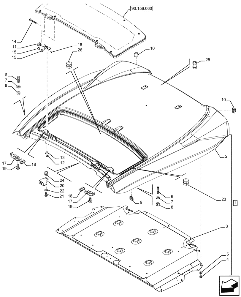
Запчасти Case IH FARMALL 120U (90.150.150) - VAR - 332147, 335387, 339434 - CAB ROOF (90) - PLATFORM, CAB, BODYWORK AND DECALS

Схема запчастей Case IH FARMALL 120U - (90.150.150) - VAR - 332147, 335387, 339434 - CAB ROOF (90) - PLATFORM, CAB, BODYWORK AND DECALS
90.156.060
22
26
13
24
20
14
21
17
9
7
17
18
15
8
3
2
12
8
7
1
16
5
6
10
19
19
15
25
6
4
18
11
23
10
FIT
1:1
100%

Артикул

Название

Примечание

Количество

1

47890112

ROOF,0

ASSY, Incl 2 - 8, 23 - 26

1шт.

2

NSS

NOT SOLD SEPARAT

Roof, Incl in 1

1шт.

3

47889632

SHEET,0

1шт.

4

84187816

SCREW,Torx Pan Hd, M6 x 12mm, Cl 8.8, POL

11шт.

5

12646601

WASHER,6.15mm ID x 15mm OD x 1.5mm Thk

11шт.

6

13516924

STUD,M8 x 34mm L, Cl. 8.8

4шт.

7

14496504

WASHER,8.4mm ID x 17mm OD x 1.6mm Thk

4шт.

8

16104114

LOCK NUT,M8, Cl 8

4шт.

9

84516532

RUBBER SEAL,15mm ID

1шт.

10

5182865

CLIP

2шт.

11

47830492

HINGE

2шт.

12

825-5146

SERRATED NUT,M6, Flg Ser

2шт.

13

12640604

WASHER,6.15mm ID x 25mm OD x 2mm Thk

2шт.

14

84277677

PIN,8mm OD x 68mm L

2шт.

15

84276011

BUSHING,8mm ID x 10mm OD x 11mm L

4шт.

16

800-436

CIRCLIP,M6

2шт.

17

47446217

BRACKET

2шт.

18

14371774

SPRING NUT,M6, U, 12mm long

2шт.

19

84187810

SCREW,Torx Pan Hd, M8 x 16mm, Cl 8.8

2шт.

20

47613002

BRACKET

1шт.

21

84193286

SCREW,Torx Pan Hd, M4 x 10mm, Cl 4.8

1шт.

22

11181474

BELLEVILLE WASHER,M4 Bolt Size x 9mm OD x 0.7mm Thk

1шт.

23

84310807

INSERT

35шт.

24

84310806

INSERT

22шт.

25

47556537

INSERT

3шт.

26

84320197

THREADED INSERT

1шт.

Выбрано товаров: 26