Запчасти Case IH FARMALL 125A (55.015.AB[03]) - ELECTRICAL WIRING HARNESS, MAIN FRONT- ROPS & CAB 6 CYL. (55) - ELECTRICAL SYSTEMS

Схема запчастей Case IH FARMALL 125A - (55.015.AB[03]) - ELECTRICAL WIRING HARNESS, MAIN FRONT- ROPS & CAB 6 CYL. (55) - ELECTRICAL SYSTEMS
10
7
8
10.001.ad
6
8
4
1
3
9
5
2
FIT
1:1
100%

Артикул

Название

Примечание

Количество

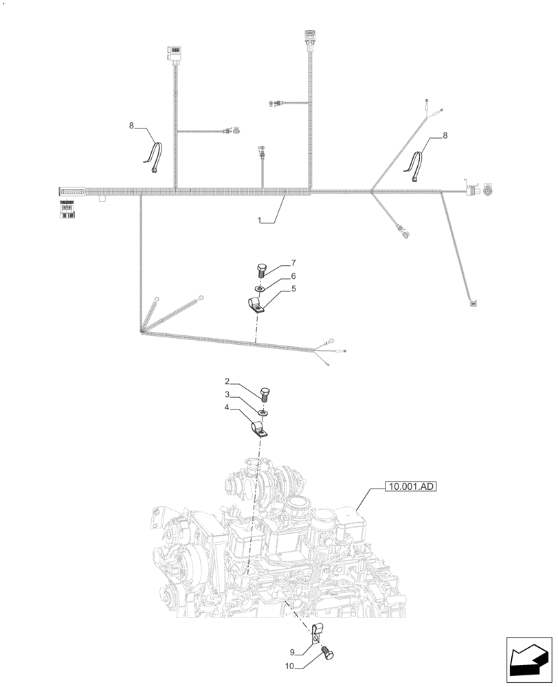
1

73336797

WIRE HARNESS

Harness Assy Main, Front

1шт.

2

83907572

SCREW,Hex, M8 x 16, G8

1шт.

3

83931520

WASHER,8.4mm ID x 17mm OD x 2mm Thk

1шт.

4

83976853

CLIP,12.7mm, Coat, 11.5mm Bolt Hole, J Type

1шт.

5

85700737

CLAMP,6.86mm ID, 14.99mm Bolt Hole, J Type

1шт.

6

82878483

WASHER

Washer M12 13x24x2.5

1шт.

7

83955887

BOLT,Hex, M12 x 1.75 x 25mm, Gr 8.8

1шт.

8

83933061

STRAP

2шт.

9

83934650

CLIP

1шт.

10

86050286

FLANGE BOLT,M10 x 20mm, Cl 8.8

1шт.

Выбрано товаров: 10