Запчасти Case IH FARMALL 130A (88.100.35[19]) - VAR - 342574 - DIA KIT, CONVERSION KIT FROM 3 TO 4 VALVES, CAB (88) - ACCESSORIES

Схема запчастей Case IH FARMALL 130A - (88.100.35[19]) - VAR - 342574 - DIA KIT, CONVERSION KIT FROM 3 TO 4 VALVES, CAB (88) - ACCESSORIES
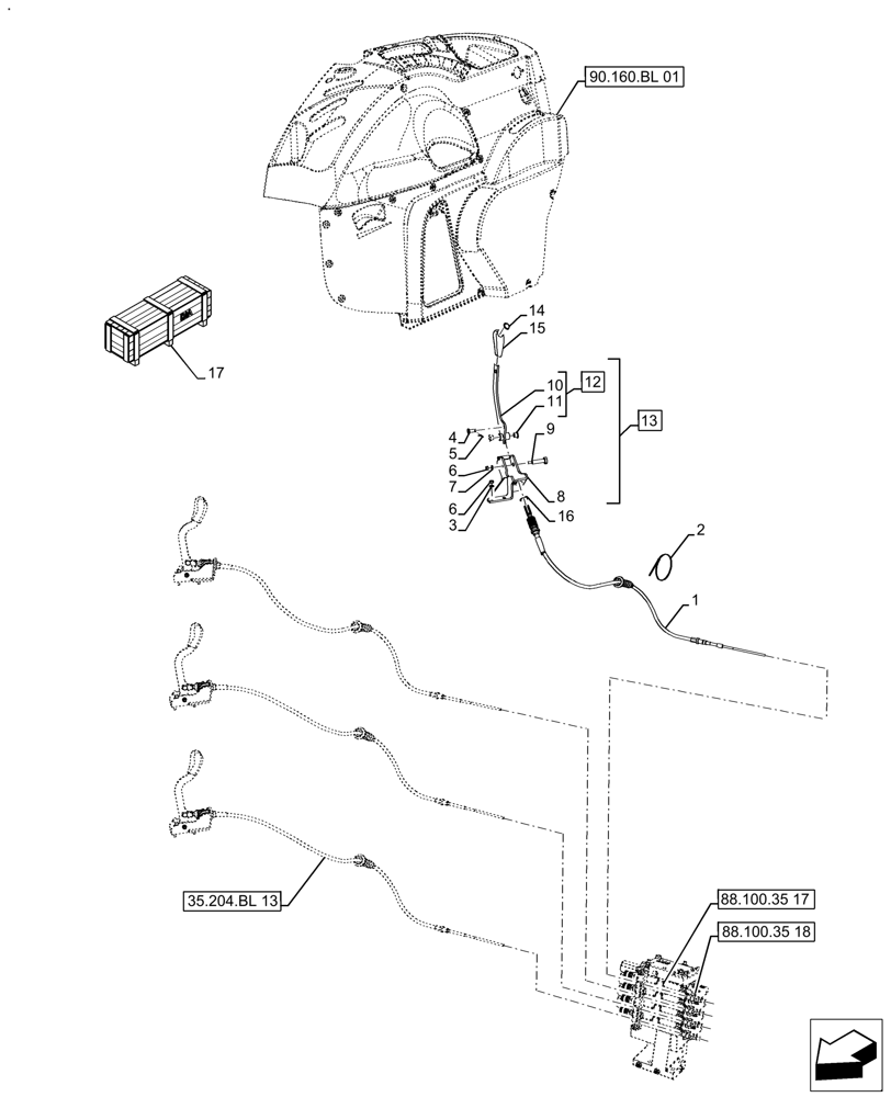
90.160.bl 01
12
5
16
4
8
6
3
15
11
1
2
7
14
10
6
13
17
9
88.100.35 17
88.100.35 18
35.204.bl 13
FIT
1:1
100%

Артикул

Название

Примечание

Количество

1

48011031

CABLE

Cable Assy. Remote Control Valve

1шт.

2

83933061

STRAP

Cable Tie, 7 x .193in

1шт.

3

86588450

WASHER,6.6mm ID x 12mm OD x 1.6mm Thk

3шт.

4

385818

CLEVIS PIN,M8 x 20

1шт.

5

81813879

COTTER PIN,1/16" x 3/4"

1шт.

6

86500688

NUT,Hex, M6 x 1.0, Cl 10.9

4шт.

7

86517328

LOCK WASHER,6.1mm ID x 11.8mm OD x 1.7mm Thk

1шт.

8

47690369

SUPPORT

Assy. 4 Remote Valves

1шт.

9

84487136

PIN,M6 x 1, 49.5mm L

1шт.

10

47861021

LEVER

Assy. Remote Valve

1шт.

11

84487137

BUSHING,10mm ID x 12mm OD x 10mm L

2шт.

12

47861022

LEVER

Assy. with Bushing, Incl 10, 11

1шт.

13

47861023

SUPPORT

and Lever Assy. Remote Valve, Incl 6 (Qty 1), 7 - 12

1шт.

14

87698517

DATA PLAQUE

1шт.

15

47056482

KNOB

1шт.

16

81865873

CLIP,19.40mm D

1шт.

17

47929596

KIT

Dia Kit, Conversion from 3 to 4 Valves, Incl 1 - 15

1шт.

To See the Full DIA KIT Composition Look for All the Figures Where the DIA KIT P/N is Shown

1шт.

Выбрано товаров: 0