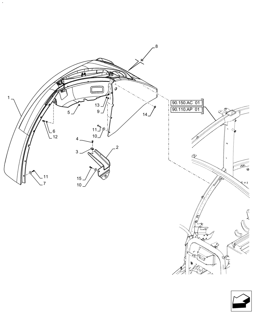
Запчасти Case IH FARMALL 130A (90.116.AC[03]) - VAR - 391610, 393315 - REAR FENDER (90) - PLATFORM, CAB, BODYWORK AND DECALS

Схема запчастей Case IH FARMALL 130A - (90.116.AC[03]) - VAR - 391610, 393315 - REAR FENDER (90) - PLATFORM, CAB, BODYWORK AND DECALS
90.110.ap 01
12
1
13
5
4
8
3
10
9
2
11
14
15
10
6
7
11
90.150.ac 01
FIT
1:1
100%

Артикул

Название

Примечание

Количество

1

84303404

REAR FENDER

LH

1шт.

1

84303397

REAR FENDER

RH

1шт.

2

84315605

BRACKET

LH

1шт.

2

84315616

BRACKET

RH

1шт.

3

14189071

SPRING NUT,M6

M6 Screw STL ZND

2шт.

4

87698793

SCREW,Hex, M6 x 20mm L

2шт.

5

14059214

FLANGE NUT,Hex, M6 x 6 Thd, Cl 8

Hex M6, 8 DAC

4шт.

6

322357

BELLEVILLE WASHER,M6 Bolt Size x 14mm OD x 1.3mm Thk

2шт.

7

47567924

WASHER,6.15mm ID x 34mm OD x 1.5mm Thk

12шт.

8

14371071

SPRING NUT,M5, 12mm W x 20.3mm OAL

4шт.

9

86625263

WASHER,9mm ID x 20mm OD x 1.6mm Thk

2шт.

10

86639315

WASHER,6.6mm ID x 18mm OD x 1.6mm Thk

8шт.

11

86977786

BOLT,Hex, M6 x 1 x 25mm, Cl 8.8

18шт.

12

86508568

BOLT,Hex, M6 x 1 x 16mm, Cl 8.8

2шт.

13

9706690

NUT,M8 x 1.25, Cl 8

2шт.

14

82988223

INSULATOR

2шт.

15

120100

BOLT,M6 x 20mm, Cl 8.8

2шт.

Выбрано товаров: 17