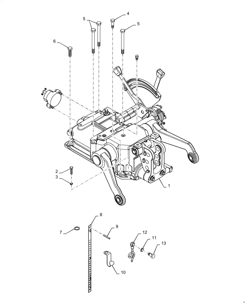
Запчасти Case IH FARMALL 50A (35.100.AB[08]) - HYDRAULIC POWER LIFT ASSY, 1500 KG (35) - HYDRAULIC SYSTEMS

Схема запчастей Case IH FARMALL 50A - (35.100.AB[08]) - HYDRAULIC POWER LIFT ASSY, 1500 KG (35) - HYDRAULIC SYSTEMS
8
6
9
4
3
13
5
5
10
2
7
12
11
1
FIT
1:1
100%

Артикул

Название

Примечание

Количество

1

87645833

HYDRAULIC LIFT

750CC Without Control Valve

1шт.

2

16043931

SCREW,Hex, M8 x 1.25 x 35mm, Cl 10.9, Full Thd

2шт.

3

10569379

LOCK WASHER

2шт.

4

11307021

BOLT,Hex, M10 x 1.25 x 40, 10.9, Full Thd

4шт.

5

15541921

BOLT,Hex, M12 x 1.25 x 130mm, Cl 8.8

3шт.

6

15540621

SCREW,Hex, M12 x 1.25 x 40mm, Cl 8.8, Full Thd

2шт.

7

10261660

SEALING WASHER,M18.3 x 26 x 1.5, Copper

1шт.

8

84292506

DECAL

Sector Plate, Hydraulic Lift

1шт.

9

87703329

RIVET,Pop, 3.15mm OD x 9mm L

Decal Sector Plate

3шт.

10

82834107

COLLAR

Clamp Harness

1шт.

11

10298460

SEALING WASHER,M12.2 x 18 x 1.5

2шт.

12

47757366

PIPE

Pipe, Assembly Breather Hydraulic Lift

1шт.

13

82824997

BANJO BOLT

Special

1шт.

Выбрано товаров: 13