Запчасти Case IH FARMALL 65C (1.41.0[03]) - 2WD FRONT AXLE - STEERING ROD (VAR.330581) (04) - FRONT AXLE & STEERING

Схема запчастей Case IH FARMALL 65C - (1.41.0[03]) - 2WD FRONT AXLE - STEERING ROD (VAR.330581) (04) - FRONT AXLE & STEERING
home
pag.1
14
8
10
2
3
3
13
4
1
12
15
5
11
9
7
4
6
5
FIT
1:1
100%

Артикул

Название

Примечание

Количество

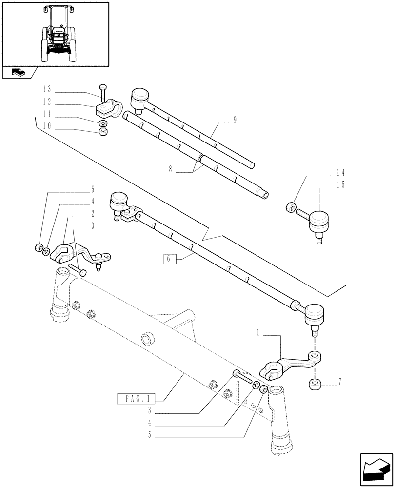
1

5166080

STEERING ARM

LH

1шт.

2

87621271

LEVER

RH Incl. 6

1шт.

3

16247574

BOLT,Hex, M14 x 1.5 x 80mm, Cl 12.9

2шт.

4

11194174

BELLEVILLE WASHER,M14 Bolt Size x 27mm OD x 3mm Thk

2шт.

5

10790421

NUT,M14 x 1.5, Cl 10

2шт.

6

5166075

TRACK ROD ASSY

1шт.

7

12575921

NUT,M16 x 1.5, Cl 05

2шт.

8

5166076

RIGID TUBE

945mm (37-1/4") L

1шт.

9

5166077

TRACK ROD ASSY

740mm L.

1шт.

10

12164714

NUT,M10 x 1.25, Cl 8

1шт.

11

11190574

BELLEVILLE WASHER,M10 Bolt Size x 20mm OD x 2.3mm Thk

1шт.

12

4997704

CLAMP

1шт.

13

11343824

BOLT,Hex, M10 x 1.25 x 50, 8.8

1шт.

14

587302

LOCK NUT,Hex, M20 x 1

M20

1шт.

15

5109553

BALL JOINT

16 x 20 Threads

1шт.

Выбрано товаров: 15