Запчасти Case IH FARMALL 65C (1.80.1[01]) - POWER TAKE-OFF (540 RPM) (07) - HYDRAULIC SYSTEM

Схема запчастей Case IH FARMALL 65C - (1.80.1[01]) - POWER TAKE-OFF (540 RPM) (07) - HYDRAULIC SYSTEM
19
7
17
5
13
5
18
1
3
home
pag. 2
2
11
6
15
16
14
1.25.0
10
4
9
8
12
FIT
1:1
100%

Артикул

Название

Примечание

Количество

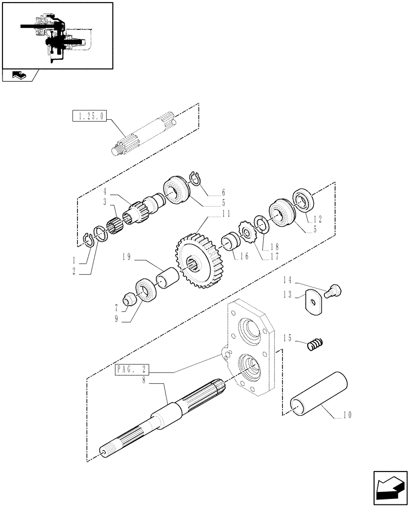
1

84078050

SNAP RING,M22, Int

1шт.

2

5142178

SNAP RING,1.5mm Thk

1шт.

3

5173210

NEEDLE BEARING,Needle, 43mm ID x 58mm OD x 22mm W

43 x 58 x 22

1шт.

4

47123687

SHAFT

1шт.

5

5168238

BALL BEARING,40mm ID x 90mm OD x 23mm W

40 x 90 x 23

2шт.

6

11068876

SNAP RING,M40, Ext

1шт.

7

5122985

NUT,Ring, M32, 1.5 Pitch

M32 x 1.5

1шт.

8

5173440

SHAFT,M32 x 1.5 x 316.5mm L, 12T

1шт.

9

20045200

BALL BEARING,35mm ID x 80mm OD x 21mm

35 x 80 x 21

1шт.

10

5102349

GUARD

1шт.

With NA Selection Speed, VAR.330808

1шт.

11

47123682

GEAR,61T

540 RPM

1шт.

12

5124606

SEAL,50mm ID x 65mm OD x 8mm Thk

50 x 65 x 8

1шт.

13

47131175

BRAKE DISC,14mm ID x 70mm OD x 4mm Thk

1шт.

14

47130774

PIN,13.5mm OD x 22mm L

1шт.

15

47132279

SPRING,Compression, 33mm OD x 29mm L

1шт.

16

5175203

SPACER,38mm ID x 52mm OD x 46mm L

1шт.

17

87302766

DISC,38.1mm ID x 152mm OD x 1.5mm Thk

1шт.

18

87341678

THRUST WASHER,38.1mm ID x 58mm OD x 2.5mm Thk

1шт.

19

5168235

SPACER,38mm ID x 52mm OD x 50mm L

1шт.

Выбрано товаров: 20