Запчасти Case IH FARMALL 65C (1.80.1/05[02]) - POWER TAKE-OFF (540-1000 RPM) - NA - COUPLING (VAR.330808-331808) (07) - HYDRAULIC SYSTEM

Схема запчастей Case IH FARMALL 65C - (1.80.1/05[02]) - POWER TAKE-OFF (540-1000 RPM) - NA - COUPLING (VAR.330808-331808) (07) - HYDRAULIC SYSTEM
2
home
pag.1
3
1
FIT
1:1
100%

Артикул

Название

Примечание

Количество

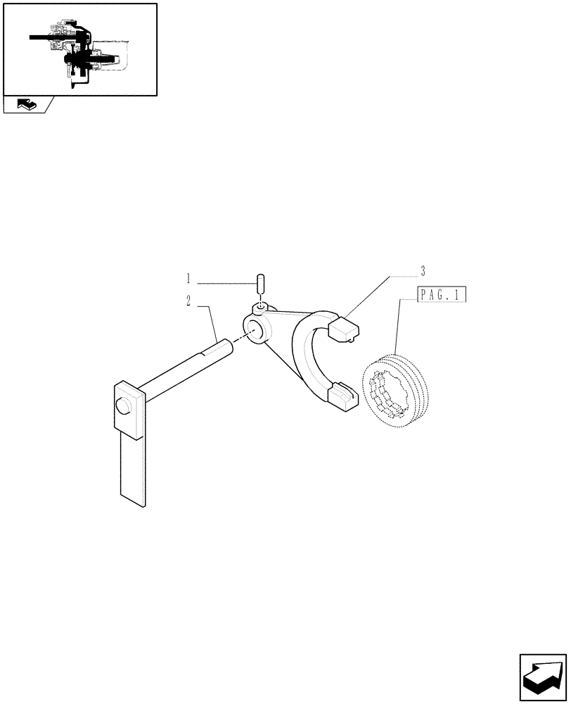
1

13942570

ROLL PIN,M6 x 30mm

1шт.

2

5180674

ROD,84.5mm L

1шт.

3

5180677

YOKE,16mm Hole Dia

1шт.

Выбрано товаров: 3