Запчасти Case IH FARMALL 65C (0.04.3[02]) - FLYWHEEL CASE (01) - ENGINE

Схема запчастей Case IH FARMALL 65C - (0.04.3[02]) - FLYWHEEL CASE (01) - ENGINE
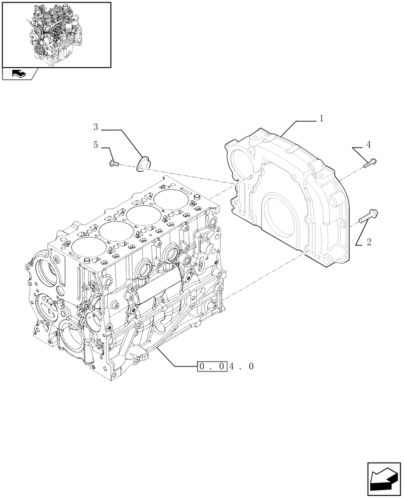
1
5
4
home
0.04.0
3
2
FIT
1:1
100%

Артикул

Название

Примечание

Количество

1

504180348

HOUSING

1шт.

2

16678034

BOLT,Hex, M12 x 40mm

M12 x 40

6шт.

2

16588225

BOLT,Hex, M12 x 1.75 x 40mm

M12 x 1.75 x 40

6шт.

3

504265766

PLATE

1шт.

4

16673735

BOLT,Hex, M8 x 1.25 x 25mm

M8 x 25

2шт.

5

4798845

BOLT,M8 x 1.25 x 16.50mm

2шт.

Выбрано товаров: 6