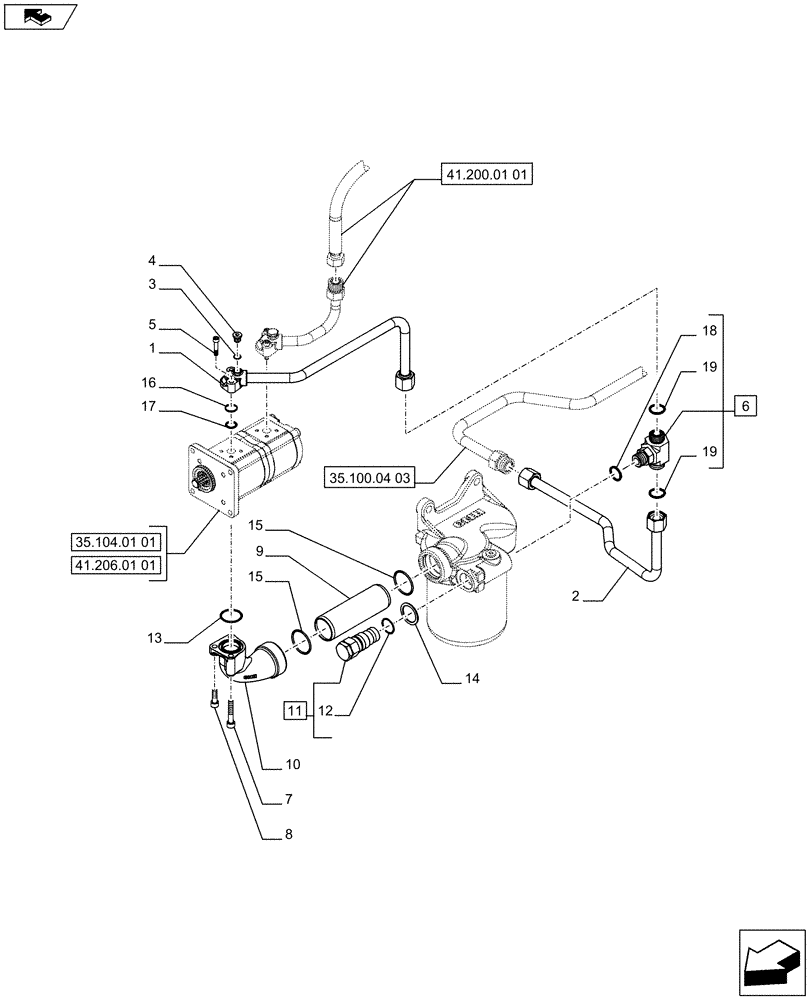
Запчасти Case IH FARMALL 65C (35.100.04[02]) - HYDRAULIC LIFT SYSTEM - LIFT DELIVERY PIPE (35) - HYDRAULIC SYSTEMS

Схема запчастей Case IH FARMALL 65C - (35.100.04[02]) - HYDRAULIC LIFT SYSTEM - LIFT DELIVERY PIPE (35) - HYDRAULIC SYSTEMS
8
14
41.206.01 01
15
15
home
17
2
13
10
6
1
19
35.104.01 01
41.200.01 01
11
16
19
3
4
18
35.100.04 03
9
7
5
12
FIT
1:1
100%

Артикул

Название

Примечание

Количество

1

84232814

RIGID TUBE

Pressure from Pump

1шт.

2

84372787

RIGID TUBE

1шт.

3

5183780

SEALING WASHER,9.73mm ID x 18mm OD x 1.5mm Thk

1шт.

4

10300511

PLUG,M12 x 1.5 x 12, Cl5.8

1шт.

5

14305531

HEX SOC SCREW,M6 x 30mm, Cl 10.9, Full Thd

2шт.

6

86579711

TEE,M22 x 1.5

ASSY, Contains Ref. 18, 19

1шт.

7

14306921

HEX SOC SCREW,M8 x 50mm, Cl 8.8

2шт.

8

14306421

HEX SOC SCREW,M8 x 1.25 x 25mm, Cl 8.8

1шт.

9

87392916

RIGID TUBE,45 mm OD x 139.5 mm L

1шт.

10

87552552

HYD CONNECTOR

1шт.

11

47128782

VALVE PRESSURE RELIE

ASSY, Contains Ref. 12

1шт.

12

14453981

O-RING,0.989" ID x 0.07" Width

1шт.

13

14463680

O-RING,0.139" Thk x 1.234" ID, -218, Cl 5, 75 Duro

1шт.

14

10263360

SEAL,20.3mm ID x 26mm OD x 1mm Thk

1шт.

15

14464281

O-RING,1.734" ID x 0.139" Width

2шт.

16

5146466

RING,24mm ID x 25mm OD x 2.3mm Thk

1шт.

17

5135739

O-RING,0.737" ID x 0.943" OD x 0.103"

1шт.

18

86598102

O-RING,2.2mm Thk x 19.3mm ID, Cl 6, 90 Duro

1шт.

19

9992069

O-RING,0.07" Thk x 0.614" ID, -16, Cl 6, 90 Duro

2шт.

Выбрано товаров: 19