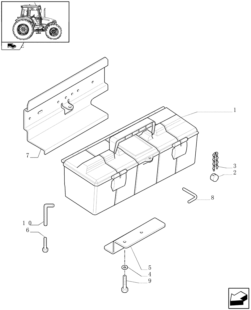
Запчасти Case IH FARMALL 70 (1.90.5) - TOOL BOX (10) - OPERATORS PLATFORM/CAB

Схема запчастей Case IH FARMALL 70 - (1.90.5) - TOOL BOX (10) - OPERATORS PLATFORM/CAB
8
4
6
home
2
5
7
10
1
3
9
FIT
1:1
100%

Артикул

Название

Примечание

Количество

1

5095002

TOOL BOX

ASSY

1шт.

2

747226

FASTENER

1шт.

3

5088746

RETAINING WIRE

WIRE

1шт.

4

10571779

LOCK WASHER,Helical Spring, 8.10mm ID x 14.80mm OD x 2.00mm, ZNM

2шт.

5

87679953

SUPPORT

1шт.

6

9706690

NUT,M8 x 1.25, Cl 8

2шт.

7

5095986

SUPPORT

1шт.

8

5106675

PIN,6mm OD

1шт.

9

16043421

BOLT,Hex, M8 x 1.25 x 20mm, Cl 8.8, Full Thd

1шт.

10

14534579

SPECIAL WRENCH,M12

1шт.

NA Package, VAR.330007 (Valid for JX80 only)

1шт.

Выбрано товаров: 11