Запчасти Case IH FARMALL 75C (82.100.0101[05]) - QUICK COUPLER LEVER (82) - FRONT LOADER & BUCKET

Схема запчастей Case IH FARMALL 75C - (82.100.0101[05]) - QUICK COUPLER LEVER (82) - FRONT LOADER & BUCKET
4
3
10
8
6
9
3
11
12
7
13
1
4
2
5
FIT
1:1
100%

Артикул

Название

Примечание

Количество

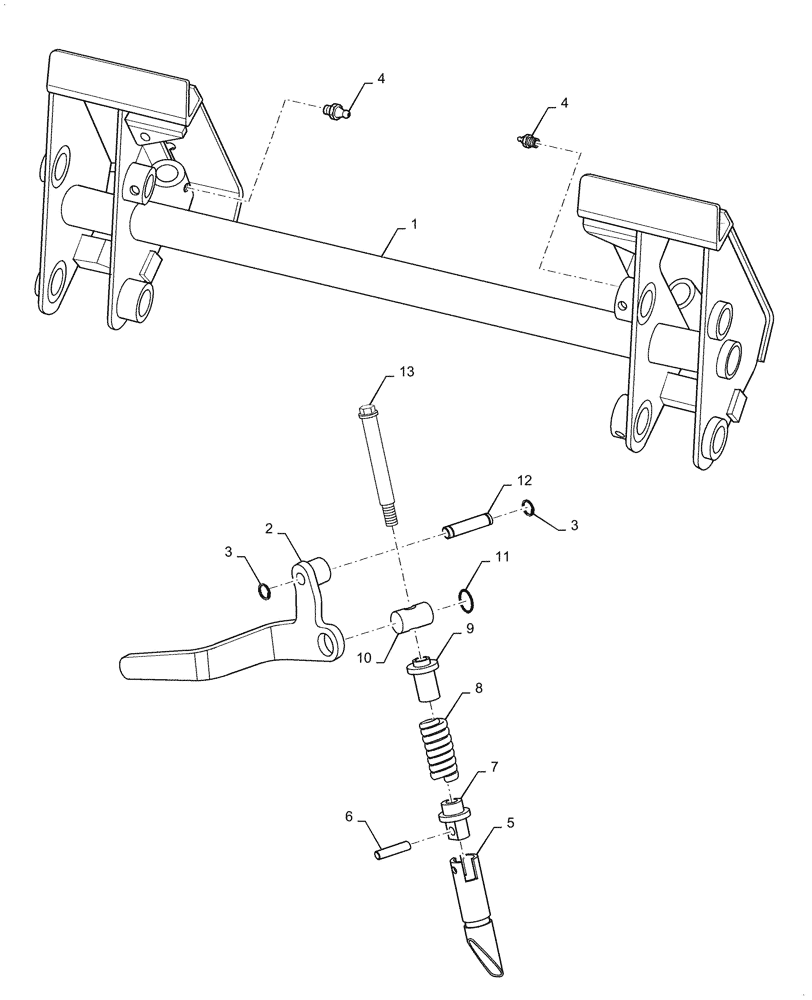
1

84406180

QUICK-HITCH

Coupler

1шт.

2

84406181

LEVER

LH

1шт.

2

84408819

LEVER

RH

1шт.

3

11066176

SNAP RING,M13, Ext

4шт.

4

13407211

LUBE NIPPLE,M10 x 1

2шт.

5

86575348

PIN,31.75mm x 142mm L

2шт.

6

84406182

SPLIT PIN/SAFETY PIN

2шт.

7

84406183

GUIDE BUSHING

2шт.

8

86610167

SPRING,Compression, 35.15mm OD x 101.6mm L

2шт.

9

86610166

GUIDE,13.5mm ID x 22mm OD x 46.6mm L

2шт.

10

84406184

PIN

2шт.

11

84408820

SNAP RING,M25, Ext

2шт.

12

84406185

PIN

Block Level

2шт.

13

86506112

12 PT SCREW,3/8" - 16 x 5" L

2шт.

Выбрано товаров: 14